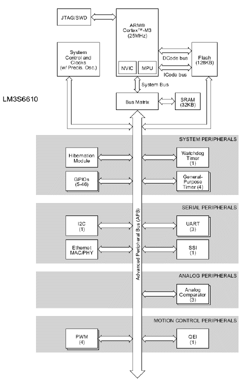
| Embedded | 4 | Active | The Stellaris® LM3S6537 microcontroller is based on the ARM® Cortex™-M3 controller core operating at up to 50 MHz, with 96 kB flash and 64 kB SRAM. The LM3S6537 also features real-time industrial connectivity, with a 10/100 Ethernet MAC/PHY, an SSI / SPI controller, an I2C interface, and 2 UARTs, as well as hardware-assisted support for synchronized industrial networks utilizing the IEEE 1588 Precision Time Protocol (PTP). The LM3S6537 microcontroller also features advanced motion control features, including 6 motion-control PWM outputs with dead-band and 1 fault protection inputs for low-latency shutdown. The microcontroller also features intelligent analog capability, including 2 analog comparators and 4 channels of highly accurate 10-bit analog-to-digital conversion - with the ability to sample at speeds of 500K samples per second. Finally, the LM3S6537 microcontroller provides a 24-bit systick timer, 4 32-bit or 8 16-bit general-purpose timers, a watchdog timer, a battery-backed hibernation module with RTC and 256 bytes of non-volatile state-saving memory, a low drop-out voltage regulator so that only one supply voltage is required, brown-out reset, power-on reset controller, and up to 41 GPIOs.
The Stellaris® LM3S6537 microcontroller is based on the ARM® Cortex™-M3 controller core operating at up to 50 MHz, with 96 kB flash and 64 kB SRAM. The LM3S6537 also features real-time industrial connectivity, with a 10/100 Ethernet MAC/PHY, an SSI / SPI controller, an I2C interface, and 2 UARTs, as well as hardware-assisted support for synchronized industrial networks utilizing the IEEE 1588 Precision Time Protocol (PTP). The LM3S6537 microcontroller also features advanced motion control features, including 6 motion-control PWM outputs with dead-band and 1 fault protection inputs for low-latency shutdown. The microcontroller also features intelligent analog capability, including 2 analog comparators and 4 channels of highly accurate 10-bit analog-to-digital conversion - with the ability to sample at speeds of 500K samples per second. Finally, the LM3S6537 microcontroller provides a 24-bit systick timer, 4 32-bit or 8 16-bit general-purpose timers, a watchdog timer, a battery-backed hibernation module with RTC and 256 bytes of non-volatile state-saving memory, a low drop-out voltage regulator so that only one supply voltage is required, brown-out reset, power-on reset controller, and up to 41 GPIOs. |