T
Texas Instruments
| Series | Category | # Parts | Status | Description |
|---|---|---|---|---|
| Part | Spec A | Spec B | Spec C | Spec D | Description |
|---|---|---|---|---|---|
| Series | Category | # Parts | Status | Description |
|---|---|---|---|---|
| Part | Spec A | Spec B | Spec C | Spec D | Description |
|---|---|---|---|---|---|
| Part | Category | Description |
|---|---|---|
Texas Instruments | Integrated Circuits (ICs) | BUS DRIVER, BCT/FBT SERIES |
Texas Instruments | Integrated Circuits (ICs) | 12BIT 3.3V~3.6V 210MHZ PARALLEL VQFN-48-EP(7X7) ANALOG TO DIGITAL CONVERTERS (ADC) ROHS |
Texas Instruments | Integrated Circuits (ICs) | TMX320DRE311 179PIN UBGA 200MHZ |
Texas Instruments TPS61040DRVTG4Unknown | Integrated Circuits (ICs) | IC LED DRV RGLTR PWM 350MA 6WSON |
Texas Instruments LP3876ET-2.5Obsolete | Integrated Circuits (ICs) | IC REG LINEAR 2.5V 3A TO220-5 |
Texas Instruments LMS1585ACSX-ADJObsolete | Integrated Circuits (ICs) | IC REG LIN POS ADJ 5A DDPAK |
Texas Instruments INA111APG4Obsolete | Integrated Circuits (ICs) | IC INST AMP 1 CIRCUIT 8DIP |
Texas Instruments | Integrated Circuits (ICs) | AUTOMOTIVE, QUAD 36V 1.2MHZ OPERATIONAL AMPLIFIER |
Texas Instruments OPA340NA/3KG4Unknown | Integrated Circuits (ICs) | IC OPAMP GP 1 CIRCUIT SOT23-5 |
Texas Instruments PT5112AObsolete | Power Supplies - Board Mount | DC DC CONVERTER 8V 8W |
| Series | Category | # Parts | Status | Description |
|---|---|---|---|---|
| Integrated Circuits (ICs) | 3 | NRND | ||
| Microcontrollers | 1 | Obsolete | ||
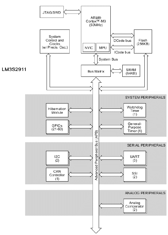
LM3S2678Stellaris LM3S Microcontroller | Embedded | 2 | NRND | The Stellaris® LM3S2678 microcontroller is based on the ARM® Cortex™-M3 controller core operating at up to 50 MHz, with 128 kB flash, 32 kB SRAM, a 32-ch DMA, and ROM preloaded with the StellarisWare Driver Library and BootLoader. The LM3S2678 also features real-time industrial connectivity, with a CAN controller, an SSI / SPI controller, and a UART. The LM3S2678 microcontroller also features advanced motion control features, including 4 motion-control PWM outputs with dead-band, a quadrature encoder input for precise position monitoring, and a fault protection input for low-latency shutdown. The microcontroller also features intelligent analog capability, including .8 channels of highly accurate 10-bit analog-to-digital conversion - with the ability to sample at speeds of 500K samples per second. Finally, the LM3S2678 microcontroller provides a 24-bit systick timer, 4 32-bit or 8 16-bit general-purpose timers, a watchdog timer, a low drop-out voltage regulator so that only one supply voltage is required, brown-out reset, power-on reset controller, and up to 33 GPIOs.
The Stellaris® LM3S2678 microcontroller is based on the ARM® Cortex™-M3 controller core operating at up to 50 MHz, with 128 kB flash, 32 kB SRAM, a 32-ch DMA, and ROM preloaded with the StellarisWare Driver Library and BootLoader. The LM3S2678 also features real-time industrial connectivity, with a CAN controller, an SSI / SPI controller, and a UART. The LM3S2678 microcontroller also features advanced motion control features, including 4 motion-control PWM outputs with dead-band, a quadrature encoder input for precise position monitoring, and a fault protection input for low-latency shutdown. The microcontroller also features intelligent analog capability, including .8 channels of highly accurate 10-bit analog-to-digital conversion - with the ability to sample at speeds of 500K samples per second. Finally, the LM3S2678 microcontroller provides a 24-bit systick timer, 4 32-bit or 8 16-bit general-purpose timers, a watchdog timer, a low drop-out voltage regulator so that only one supply voltage is required, brown-out reset, power-on reset controller, and up to 33 GPIOs. |
| Integrated Circuits (ICs) | 2 | NRND | ||
| Integrated Circuits (ICs) | 5 | NRND | ||
| Microcontrollers | 2 | NRND | ||
| Microcontrollers | 7 | Obsolete | ||
| Integrated Circuits (ICs) | 6 | NRND | ||
| Integrated Circuits (ICs) | 4 | NRND | ||
| Integrated Circuits (ICs) | 2 | Obsolete | ||