INA204-16 to 80V, 500kHz current sense amplifier w/ dual comparators | Integrated Circuits (ICs) | 4 | LTB | The INA203, INA204, and INA205 are a family of unidirectional current-shunt monitors with voltage output, dual comparators, and voltage reference. The INA203, INA204, and INA205 can sense drops across shunts at common-mode voltages from –16 V to 80 V. The INA203, INA204, and INA205 are available with three output voltage scales: 20 V/V, 50 V/V, and 100 V/V, with up to 500-kHz bandwidth.
The INA203, INA204, and INA205 also incorporate two open-drain comparators with internal 0.6-V references. On 14-pin versions, the comparator references can be overridden by external inputs. Comparator 1 includes a latching capability, and Comparator 2 has a user-programmable delay. 14-pin versions also provide a 1.2-V reference output.
The INA203, INA204, and INA205 operate from a single 2.7-V to 18-V supply. They are specified over the extended operating temperature range of –40°C to 125°C.
The INA203, INA204, and INA205 are a family of unidirectional current-shunt monitors with voltage output, dual comparators, and voltage reference. The INA203, INA204, and INA205 can sense drops across shunts at common-mode voltages from –16 V to 80 V. The INA203, INA204, and INA205 are available with three output voltage scales: 20 V/V, 50 V/V, and 100 V/V, with up to 500-kHz bandwidth.
The INA203, INA204, and INA205 also incorporate two open-drain comparators with internal 0.6-V references. On 14-pin versions, the comparator references can be overridden by external inputs. Comparator 1 includes a latching capability, and Comparator 2 has a user-programmable delay. 14-pin versions also provide a 1.2-V reference output.
The INA203, INA204, and INA205 operate from a single 2.7-V to 18-V supply. They are specified over the extended operating temperature range of –40°C to 125°C. |
| Power Management (PMIC) | 5 | Active | |
INA206-16 to 80V, 500kHz current sense amplifier w/ window comparator | Current Regulation/Management | 4 | Active | The INA206, INA207, and INA208 are a family of undirectional current-shunt monitors with voltage output, dual comparators, and voltage reference. The INA206, INA207, and INA208 can sense drops across shunts at a common-mode voltages from –16 V to 80 V. The INA206, INA207, and INA208 are available with three output voltage scales: 20 V/V, 50 V/V, and 100 V/V, with up to 500-kHz bandwidth.
The INA206, INA207, and INA208 also incorporates two open-drain comparators with internal 0.6-V references. On 14-pin versions, the comparator references can be overridden by external inputs. Comparator 1 includes a latching capability, and Comparator 2 has a user-programmable delay on 14-pin versions. The 14-pin versions also provide a 1.2 V reference output.
The INA206, INA207, and INA208 operate from a single 2.7-V to 18-V supply. They are specified over the extended operating temperature range of –40°C to 125°C.
The INA206, INA207, and INA208 are a family of undirectional current-shunt monitors with voltage output, dual comparators, and voltage reference. The INA206, INA207, and INA208 can sense drops across shunts at a common-mode voltages from –16 V to 80 V. The INA206, INA207, and INA208 are available with three output voltage scales: 20 V/V, 50 V/V, and 100 V/V, with up to 500-kHz bandwidth.
The INA206, INA207, and INA208 also incorporates two open-drain comparators with internal 0.6-V references. On 14-pin versions, the comparator references can be overridden by external inputs. Comparator 1 includes a latching capability, and Comparator 2 has a user-programmable delay on 14-pin versions. The 14-pin versions also provide a 1.2 V reference output.
The INA206, INA207, and INA208 operate from a single 2.7-V to 18-V supply. They are specified over the extended operating temperature range of –40°C to 125°C. |
INA207-16 to 80V, 500kHz current sense amplifier w/ window comparator | Current Regulation/Management | 8 | Active | The INA206, INA207, and INA208 are a family of undirectional current-shunt monitors with voltage output, dual comparators, and voltage reference. The INA206, INA207, and INA208 can sense drops across shunts at a common-mode voltages from –16 V to 80 V. The INA206, INA207, and INA208 are available with three output voltage scales: 20 V/V, 50 V/V, and 100 V/V, with up to 500-kHz bandwidth.
The INA206, INA207, and INA208 also incorporates two open-drain comparators with internal 0.6-V references. On 14-pin versions, the comparator references can be overridden by external inputs. Comparator 1 includes a latching capability, and Comparator 2 has a user-programmable delay on 14-pin versions. The 14-pin versions also provide a 1.2 V reference output.
The INA206, INA207, and INA208 operate from a single 2.7-V to 18-V supply. They are specified over the extended operating temperature range of –40°C to 125°C.
The INA206, INA207, and INA208 are a family of undirectional current-shunt monitors with voltage output, dual comparators, and voltage reference. The INA206, INA207, and INA208 can sense drops across shunts at a common-mode voltages from –16 V to 80 V. The INA206, INA207, and INA208 are available with three output voltage scales: 20 V/V, 50 V/V, and 100 V/V, with up to 500-kHz bandwidth.
The INA206, INA207, and INA208 also incorporates two open-drain comparators with internal 0.6-V references. On 14-pin versions, the comparator references can be overridden by external inputs. Comparator 1 includes a latching capability, and Comparator 2 has a user-programmable delay on 14-pin versions. The 14-pin versions also provide a 1.2 V reference output.
The INA206, INA207, and INA208 operate from a single 2.7-V to 18-V supply. They are specified over the extended operating temperature range of –40°C to 125°C. |
| Integrated Circuits (ICs) | 4 | Active | |
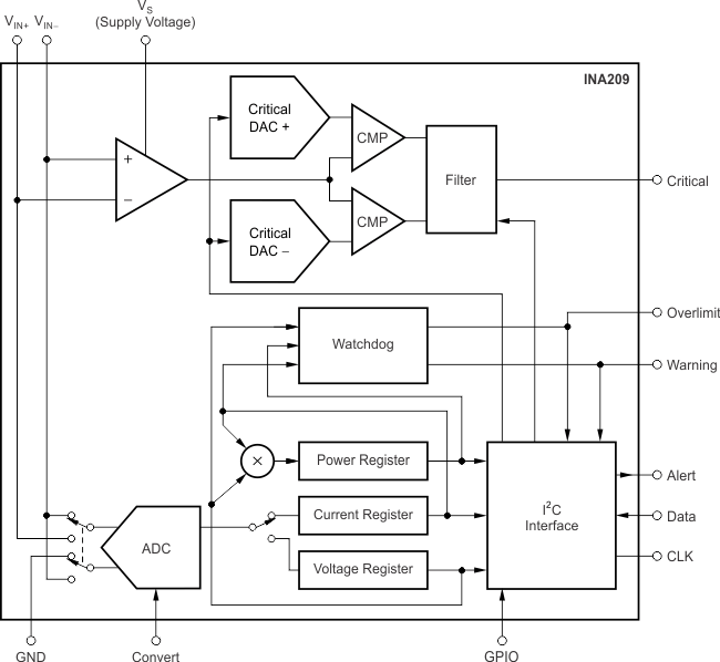
INA20926V, 12-bit, i2c output current/voltage/power monitor w/ analog comparator | Evaluation and Demonstration Boards and Kits | 2 | Active | The INA209 is a high-side current shunt and power monitor with an I2C interface. The INA209 monitors both shunt drop and shunt bus voltage. A programmable calibration value, combined with an internal multiplier, enables direct readouts in amperes. An additional multiplying register calculates power in watts. The INA209 features two separate, onboard watchdog capabilities: a warning comparator and an over-limit comparator. The warning comparator is useful for monitoring lower warning limits and incorporates a user-defined delay. The over-limit comparator assists with monitoring upper limits that could require immediate system shutdown.
The INA209 also includes an analog comparator and a programmable digital-to-analog converter (DAC) that combine to provide the fastest possible responses to current overload conditions.
The INA209 can be used together with hot swap controllers that already use a current sense resistor. The INA209 full-scale range can be selected to be either within the hot-swap controller sense limits, or wide enough to include them.
The INA209 senses across shunts on buses that can vary from 0V to 26V. The device uses a single +3V to +5.5V supply, drawing a maximum of 1.5mA of supply current. It is specified for operation from -25°C to +85°C.
The INA209 is a high-side current shunt and power monitor with an I2C interface. The INA209 monitors both shunt drop and shunt bus voltage. A programmable calibration value, combined with an internal multiplier, enables direct readouts in amperes. An additional multiplying register calculates power in watts. The INA209 features two separate, onboard watchdog capabilities: a warning comparator and an over-limit comparator. The warning comparator is useful for monitoring lower warning limits and incorporates a user-defined delay. The over-limit comparator assists with monitoring upper limits that could require immediate system shutdown.
The INA209 also includes an analog comparator and a programmable digital-to-analog converter (DAC) that combine to provide the fastest possible responses to current overload conditions.
The INA209 can be used together with hot swap controllers that already use a current sense resistor. The INA209 full-scale range can be selected to be either within the hot-swap controller sense limits, or wide enough to include them.
The INA209 senses across shunts on buses that can vary from 0V to 26V. The device uses a single +3V to +5.5V supply, drawing a maximum of 1.5mA of supply current. It is specified for operation from -25°C to +85°C. |
INA210-Q1AEC-Q100, 26V, bi-directional, high-precision current sense amplifier | Instrumentation, OP Amps, Buffer Amps | 12 | Active | The INA21x-Q1 family of devices is a voltage-output, current-shunt monitor (also called a current-sense amplifier) that can sense drops across shunts at common-mode voltages from –0.3 V to 26 V, independent of the supply voltage. Five fixed gains are available: 50 V/V, 75 V/V, 100 V/V, 200 V/V, 500 V/V, and 1000 V/V. This family of devices is commonly used for overcurrent detection, voltage feedback control loops, or as a power monitor. The low offset of the zero-drift architecture enables current sensing with maximum drops across the shunt as low as 10-mV full-scale.
The devices operate from a single 2.7-V to 26-V power supply, drawing a maximum of 100 µA of supply current. The devices are specified over the operating temperature range of –40°C to +125°C and are offered in a 6-pin SC70 package.
The INA21x-Q1 family of devices is a voltage-output, current-shunt monitor (also called a current-sense amplifier) that can sense drops across shunts at common-mode voltages from –0.3 V to 26 V, independent of the supply voltage. Five fixed gains are available: 50 V/V, 75 V/V, 100 V/V, 200 V/V, 500 V/V, and 1000 V/V. This family of devices is commonly used for overcurrent detection, voltage feedback control loops, or as a power monitor. The low offset of the zero-drift architecture enables current sensing with maximum drops across the shunt as low as 10-mV full-scale.
The devices operate from a single 2.7-V to 26-V power supply, drawing a maximum of 100 µA of supply current. The devices are specified over the operating temperature range of –40°C to +125°C and are offered in a 6-pin SC70 package. |
INA211-Q1AEC-Q100, 26V, bi-directional, high-precision current sense amplifier | Integrated Circuits (ICs) | 8 | Active | The INA21x are voltage-output, current-shunt monitors (also called current-sense amplifiers) that are commonly used for overcurrent protection, precision-current measurement for system optimization, or in closed-loop feedback circuits. This series of devices can sense drops across shunts at common-mode voltages from –0.3 V to 26 V, independent of the supply voltage. Six fixed gains are available: 50 V/V, 75 V/V, 100 V/V, 200 V/V, 500 V/V, or 1000 V/V. The low offset of the zero-drift architecture enables current sensing with maximum drops across the shunt as low as 10-mV full-scale.
These devices operate from a single 2.7-V to 26-V power supply, drawing a maximum of 100 µA of supply current. All versions are specified over the extended operating temperature range (–40°C to +125°C), and offered in SC70 and UQFN packages.
The INA21x are voltage-output, current-shunt monitors (also called current-sense amplifiers) that are commonly used for overcurrent protection, precision-current measurement for system optimization, or in closed-loop feedback circuits. This series of devices can sense drops across shunts at common-mode voltages from –0.3 V to 26 V, independent of the supply voltage. Six fixed gains are available: 50 V/V, 75 V/V, 100 V/V, 200 V/V, 500 V/V, or 1000 V/V. The low offset of the zero-drift architecture enables current sensing with maximum drops across the shunt as low as 10-mV full-scale.
These devices operate from a single 2.7-V to 26-V power supply, drawing a maximum of 100 µA of supply current. All versions are specified over the extended operating temperature range (–40°C to +125°C), and offered in SC70 and UQFN packages. |
INA212-Q1AEC-Q100, 26V, bi-directional, high-precision current sense amplifier | Integrated Circuits (ICs) | 12 | Active | The INA21x are voltage-output, current-shunt monitors (also called current-sense amplifiers) that are commonly used for overcurrent protection, precision-current measurement for system optimization, or in closed-loop feedback circuits. This series of devices can sense drops across shunts at common-mode voltages from –0.3 V to 26 V, independent of the supply voltage. Six fixed gains are available: 50 V/V, 75 V/V, 100 V/V, 200 V/V, 500 V/V, or 1000 V/V. The low offset of the zero-drift architecture enables current sensing with maximum drops across the shunt as low as 10-mV full-scale.
These devices operate from a single 2.7-V to 26-V power supply, drawing a maximum of 100 µA of supply current. All versions are specified over the extended operating temperature range (–40°C to +125°C), and offered in SC70 and UQFN packages.
The INA21x are voltage-output, current-shunt monitors (also called current-sense amplifiers) that are commonly used for overcurrent protection, precision-current measurement for system optimization, or in closed-loop feedback circuits. This series of devices can sense drops across shunts at common-mode voltages from –0.3 V to 26 V, independent of the supply voltage. Six fixed gains are available: 50 V/V, 75 V/V, 100 V/V, 200 V/V, 500 V/V, or 1000 V/V. The low offset of the zero-drift architecture enables current sensing with maximum drops across the shunt as low as 10-mV full-scale.
These devices operate from a single 2.7-V to 26-V power supply, drawing a maximum of 100 µA of supply current. All versions are specified over the extended operating temperature range (–40°C to +125°C), and offered in SC70 and UQFN packages. |
| Linear | 10 | Active | |