| LED Drivers | 2 | Active | |
| Integrated Circuits (ICs) | 3 | Active | |
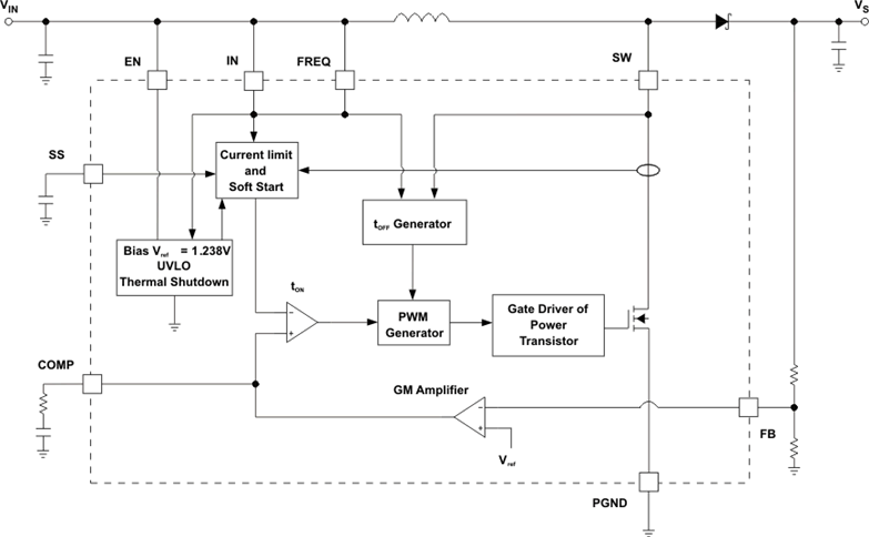
TPS61070Adjustable, 600-mA switch, 1200-kHz boost converter in ThinSOT-23 with power-saving mode | Evaluation Boards | 3 | Active | The TPS6107x devices provide a power supply solution for products powered by either a one-cell, two-cell, or three-cell alkaline, NiCd or NiMH, or one-cell Li-ion or Li-polymer battery. Output currents can go as high as 75 mA while using a single-cell alkaline, and discharge it down to 0.9 V. It can also be used for generating 5 V at 200 mA from a 3.3-V rail or a Li-ion battery. The boost converter is based on a fixed frequency, pulse-width-modulation (PWM) controller using a synchronous rectifier to obtain maximum efficiency. At low load currents the TPS61070 and TPS61073 enter the power-save mode to maintain a high efficiency over a wide load current range. The power-save mode is disabled in the TPS61071 and TPS61072, forcing the converters to operate at a fixed switching frequency. The maximum peak current in the boost switch is typically limited to a value of 600 mA.
The TPS6107x output voltage is programmed by an external resistor divider. The converter can be disabled to minimize battery drain. During shutdown, the load is completely disconnected from the battery. The device is packaged in a 6-pin thin SOT23 package (DDC).
The TPS6107x devices provide a power supply solution for products powered by either a one-cell, two-cell, or three-cell alkaline, NiCd or NiMH, or one-cell Li-ion or Li-polymer battery. Output currents can go as high as 75 mA while using a single-cell alkaline, and discharge it down to 0.9 V. It can also be used for generating 5 V at 200 mA from a 3.3-V rail or a Li-ion battery. The boost converter is based on a fixed frequency, pulse-width-modulation (PWM) controller using a synchronous rectifier to obtain maximum efficiency. At low load currents the TPS61070 and TPS61073 enter the power-save mode to maintain a high efficiency over a wide load current range. The power-save mode is disabled in the TPS61071 and TPS61072, forcing the converters to operate at a fixed switching frequency. The maximum peak current in the boost switch is typically limited to a value of 600 mA.
The TPS6107x output voltage is programmed by an external resistor divider. The converter can be disabled to minimize battery drain. During shutdown, the load is completely disconnected from the battery. The device is packaged in a 6-pin thin SOT23 package (DDC). |
TPS61071Adjustable, 600-mA switch, 1200-kHz boost converter in ThinSOT-23 with forced PWM mode | Power Management (PMIC) | 3 | Active | The TPS61071-Q1 device provides a power supply solution for products powered by lower-voltage DC rails or a one-cell, two-cell, or three-cell alkaline, NiCd or NiMH, or one-cell Li-ion or Li-polymer battery. Output currents can go as high as 75 mA, while using a single-cell alkaline, and discharge down to 0.9 V. The device can also generate 5 V at 200 mA from a 3.3-V rail or a Li-ion battery. The boost converter is based on a fixed frequency, pulse-width-modulation (PWM) controller using a synchronous rectifier to obtain maximum efficiency. The maximum peak current in the boost switch is limited typically to a value of 600 mA.
The TPS61071-Q1 output voltage is programmed by an external resistor divider. To minimize battery drain, disable the converter. During shutdown, the load disconnects from the battery. The device package is a 6-pin thin SOT package (DDC).
The TPS61071-Q1 device provides a power supply solution for products powered by lower-voltage DC rails or a one-cell, two-cell, or three-cell alkaline, NiCd or NiMH, or one-cell Li-ion or Li-polymer battery. Output currents can go as high as 75 mA, while using a single-cell alkaline, and discharge down to 0.9 V. The device can also generate 5 V at 200 mA from a 3.3-V rail or a Li-ion battery. The boost converter is based on a fixed frequency, pulse-width-modulation (PWM) controller using a synchronous rectifier to obtain maximum efficiency. The maximum peak current in the boost switch is limited typically to a value of 600 mA.
The TPS61071-Q1 output voltage is programmed by an external resistor divider. To minimize battery drain, disable the converter. During shutdown, the load disconnects from the battery. The device package is a 6-pin thin SOT package (DDC). |
| Voltage Regulators - DC DC Switching Regulators | 1 | Active | |
| Voltage Regulators - DC DC Switching Regulators | 1 | Active | |
| Integrated Circuits (ICs) | 4 | Active | |
| Power Management (PMIC) | 5 | Active | |
TPS61085650-kHz and 1.2-MHz, 18.5-V step-up DC/DC converter, AEC-Q100 qualified | Development Boards, Kits, Programmers | 13 | Active | The TPS61085 device is a high-frequency high-efficiency DC-to-DC boost converter with an integrated 2-A, 0.13-Ω power switch capable of providing an output voltage up to 18.5 V. The selectable frequency of 650 kHz or 1.2 MHz allows the use of small external inductors and capacitors, and provides fast transient response. The external compensation allows optimizing the regulator for application conditions. A capacitor connected to the specific soft-start pin minimizes inrush current at start-up.
The TPS61085 device is a high-frequency high-efficiency DC-to-DC boost converter with an integrated 2-A, 0.13-Ω power switch capable of providing an output voltage up to 18.5 V. The selectable frequency of 650 kHz or 1.2 MHz allows the use of small external inductors and capacitors, and provides fast transient response. The external compensation allows optimizing the regulator for application conditions. A capacitor connected to the specific soft-start pin minimizes inrush current at start-up. |
TPS61085T18.5V, 2A, 650kHz, 1.2MHz Step-Up DC-DC Converter with Forced PWM Mode (extended temp range) | Integrated Circuits (ICs) | 1 | Active | The TPS61085 device is a high-frequency high-efficiency DC-to-DC boost converter with an integrated 2-A, 0.13-Ω power switch capable of providing an output voltage up to 18.5 V. The selectable frequency of 650 kHz or 1.2 MHz allows the use of small external inductors and capacitors, and provides fast transient response. The external compensation allows optimizing the regulator for application conditions. A capacitor connected to the specific soft-start pin minimizes inrush current at start-up.
The TPS61085 device is a high-frequency high-efficiency DC-to-DC boost converter with an integrated 2-A, 0.13-Ω power switch capable of providing an output voltage up to 18.5 V. The selectable frequency of 650 kHz or 1.2 MHz allows the use of small external inductors and capacitors, and provides fast transient response. The external compensation allows optimizing the regulator for application conditions. A capacitor connected to the specific soft-start pin minimizes inrush current at start-up. |