T
Texas Instruments
| Series | Category | # Parts | Status | Description |
|---|---|---|---|---|
| Part | Spec A | Spec B | Spec C | Spec D | Description |
|---|---|---|---|---|---|
| Series | Category | # Parts | Status | Description |
|---|---|---|---|---|
| Part | Spec A | Spec B | Spec C | Spec D | Description |
|---|---|---|---|---|---|
| Part | Category | Description |
|---|---|---|
Texas Instruments BQ2002CSNTRG4Unknown | Integrated Circuits (ICs) | LINEAR BATTERY CHARGER NICD/NIMH 2000MA 0V TO 6V 8-PIN SOIC T/R |
Texas Instruments LM3676SDX-3.3Obsolete | Integrated Circuits (ICs) | IC REG BUCK 3.3V 600MA 8WSON |
Texas Instruments | Integrated Circuits (ICs) | TMX320DRE311 179PIN UBGA 200MHZ |
Texas Instruments UCC3580N-1G4Obsolete | Integrated Circuits (ICs) | IC REG CTRLR FWRD CONV 16DIP |
Texas Instruments LM2831YMF EVALObsolete | Development Boards Kits Programmers | EVAL BOARD FOR LM2831 |
Texas Instruments | Integrated Circuits (ICs) | BUFFER/LINE DRIVER 8-CH NON-INVERTING 3-ST CMOS 20-PIN SSOP T/R |
Texas Instruments | Integrated Circuits (ICs) | ANALOG OTHER PERIPHERALS |
Texas Instruments | Integrated Circuits (ICs) | RADIATION-HARDENED, QMLP 60V HAL |
Texas Instruments SN75LVDS051DRObsolete | Integrated Circuits (ICs) | IC TRANSCEIVER FULL 2/2 16SOIC |
Texas Instruments | Integrated Circuits (ICs) | AUTOMOTIVE OCTAL D-TYPE FLIP-FLO |
| Series | Category | # Parts | Status | Description |
|---|---|---|---|---|
| Power Management (PMIC) | 2 | Active | ||
TPS1HA0840-V, 8-mΩ, 1-ch automotive smart high-side switch with selectable current Limit | Power Management (PMIC) | 1 | Active | The device is a single-channel smart high-side switch intended for use with 12-V automotive systems. The device integrates robust protection and diagnostic features to ensure output port protection even during harmful events like short circuits. The device protects against faults through a reliable current limit, which, depending on device variant, is available at both 80 A and 20 A and can be configured to react to an overcurrent event by either instantly turning the switch off or by regulating the output current at the set point. The high current limit option allows for usage in loads that require large transient currents, while the low current limit option provides improved protection for loads that do not require high peak current.
The also provides a high accuracy analog current sense that allows for improved diagnostics whendriving varied load profiles. By reporting load current, device temperature, and supply voltage to a system MCU, the device enables predictive maintenance and load diagnostics that lengthen the system lifetime.
The is available in a small 16-pin HTSSOP package which allows for reduced PCB footprint.
The device is a single-channel smart high-side switch intended for use with 12-V automotive systems. The device integrates robust protection and diagnostic features to ensure output port protection even during harmful events like short circuits. The device protects against faults through a reliable current limit, which, depending on device variant, is available at both 80 A and 20 A and can be configured to react to an overcurrent event by either instantly turning the switch off or by regulating the output current at the set point. The high current limit option allows for usage in loads that require large transient currents, while the low current limit option provides improved protection for loads that do not require high peak current.
The also provides a high accuracy analog current sense that allows for improved diagnostics whendriving varied load profiles. By reporting load current, device temperature, and supply voltage to a system MCU, the device enables predictive maintenance and load diagnostics that lengthen the system lifetime.
The is available in a small 16-pin HTSSOP package which allows for reduced PCB footprint. |
| Integrated Circuits (ICs) | 4 | Active | ||
| Power Management (PMIC) | 3 | Active | ||
| Power Distribution Switches, Load Drivers | 3 | Active | ||
TPS1HB3540-V, 35-mΩ, 1-ch automotive smart high-side switch with adjustable current limit | Power Distribution Switches, Load Drivers | 2 | Active | The TPS1HB35-Q1 device is a smart high-side switch intended for use in 12-V automotive systems. The device integrates robust protection and diagnostic features to ensure output port protection even during harmful events like short circuits in automotive systems. The device protects against faults through areliable current limit, which, depending on device variant, is adjustable from 2 A to 22 A. The high current limit range allows for usage in loads that require large transient currents, while the low current limit range provides improved protection for loads that do not require high peak current. The device is capable of reliably driving a wide range ofload profiles.
The TPS1HB35-Q1 also provides a high accuracy analog current sense that allows for improved load diagnostics. By reporting load current and device temperature to a system MCU, the device enables predictive maintenance and load diagnostics that improves the system lifetime.
The TPS1HB35-Q1 is available in a HTSSOP package which allows for reduced PCB footprint.
The TPS1HB35-Q1 device is a smart high-side switch intended for use in 12-V automotive systems. The device integrates robust protection and diagnostic features to ensure output port protection even during harmful events like short circuits in automotive systems. The device protects against faults through areliable current limit, which, depending on device variant, is adjustable from 2 A to 22 A. The high current limit range allows for usage in loads that require large transient currents, while the low current limit range provides improved protection for loads that do not require high peak current. The device is capable of reliably driving a wide range ofload profiles.
The TPS1HB35-Q1 also provides a high accuracy analog current sense that allows for improved load diagnostics. By reporting load current and device temperature to a system MCU, the device enables predictive maintenance and load diagnostics that improves the system lifetime.
The TPS1HB35-Q1 is available in a HTSSOP package which allows for reduced PCB footprint. |
TPS1HB35-Q140-V, 35-mΩ, 1-ch automotive smart high-side switch with adjustable current limit | Power Management (PMIC) | 2 | Active | The TPS1HB35-Q1 device is a smart high-side switch intended for use in 12-V automotive systems. The device integrates robust protection and diagnostic features to ensure output port protection even during harmful events like short circuits in automotive systems. The device protects against faults through areliable current limit, which, depending on device variant, is adjustable from 2 A to 22 A. The high current limit range allows for usage in loads that require large transient currents, while the low current limit range provides improved protection for loads that do not require high peak current. The device is capable of reliably driving a wide range ofload profiles.
The TPS1HB35-Q1 also provides a high accuracy analog current sense that allows for improved load diagnostics. By reporting load current and device temperature to a system MCU, the device enables predictive maintenance and load diagnostics that improves the system lifetime.
The TPS1HB35-Q1 is available in a HTSSOP package which allows for reduced PCB footprint.
The TPS1HB35-Q1 device is a smart high-side switch intended for use in 12-V automotive systems. The device integrates robust protection and diagnostic features to ensure output port protection even during harmful events like short circuits in automotive systems. The device protects against faults through areliable current limit, which, depending on device variant, is adjustable from 2 A to 22 A. The high current limit range allows for usage in loads that require large transient currents, while the low current limit range provides improved protection for loads that do not require high peak current. The device is capable of reliably driving a wide range ofload profiles.
The TPS1HB35-Q1 also provides a high accuracy analog current sense that allows for improved load diagnostics. By reporting load current and device temperature to a system MCU, the device enables predictive maintenance and load diagnostics that improves the system lifetime.
The TPS1HB35-Q1 is available in a HTSSOP package which allows for reduced PCB footprint. |
| Power Management (PMIC) | 1 | Active | ||
| Integrated Circuits (ICs) | 1 | Active | ||
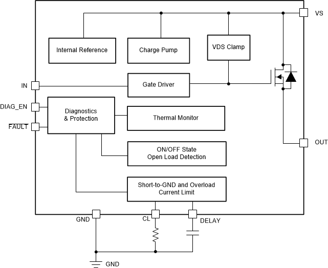
TPS1HC100Automotive, 100-mΩ, 2.5-A, one-channel smart high-side switch | Power Management (PMIC) | 1 | Active | The TPS1HC100-Q1 device is a fully protected high-side power switch, with integrated NMOS power FET and charge pump, targeted for the intelligent control of various loads. Accurate current sense and programmable current limit features differentiate it from the market.
Low logic high threshold, VIH, of 1.5V on the input pins allow use of MCUs GPIO signals to 1.8V. High-accuracy current sensing provides a better real-time monitoring effect and more accurate diagnostics without further calibration. The external high-accuracy current limit allows setting the current limit value by application. The device highly improves the reliability of the system by effectively clamping the inrush current under start-up or short-circuit conditions. The TPS1HC100-Q1 device can be used as a high-side power switch for a wide variety of resistive, inductive, and capacitive loads, including low-wattage bulbs, LEDs, relays, solenoids, and heaters.
The TPS1HC100-Q1 device is a fully protected high-side power switch, with integrated NMOS power FET and charge pump, targeted for the intelligent control of various loads. Accurate current sense and programmable current limit features differentiate it from the market.
Low logic high threshold, VIH, of 1.5V on the input pins allow use of MCUs GPIO signals to 1.8V. High-accuracy current sensing provides a better real-time monitoring effect and more accurate diagnostics without further calibration. The external high-accuracy current limit allows setting the current limit value by application. The device highly improves the reliability of the system by effectively clamping the inrush current under start-up or short-circuit conditions. The TPS1HC100-Q1 device can be used as a high-side power switch for a wide variety of resistive, inductive, and capacitive loads, including low-wattage bulbs, LEDs, relays, solenoids, and heaters. |