T
Texas Instruments
| Series | Category | # Parts | Status | Description |
|---|---|---|---|---|
| Part | Spec A | Spec B | Spec C | Spec D | Description |
|---|---|---|---|---|---|
| Series | Category | # Parts | Status | Description |
|---|---|---|---|---|
| Part | Spec A | Spec B | Spec C | Spec D | Description |
|---|---|---|---|---|---|
| Part | Category | Description |
|---|---|---|
Texas Instruments | Integrated Circuits (ICs) | BUS DRIVER, BCT/FBT SERIES |
Texas Instruments | Integrated Circuits (ICs) | 12BIT 3.3V~3.6V 210MHZ PARALLEL VQFN-48-EP(7X7) ANALOG TO DIGITAL CONVERTERS (ADC) ROHS |
Texas Instruments | Integrated Circuits (ICs) | TMX320DRE311 179PIN UBGA 200MHZ |
Texas Instruments TPS61040DRVTG4Unknown | Integrated Circuits (ICs) | IC LED DRV RGLTR PWM 350MA 6WSON |
Texas Instruments LP3876ET-2.5Obsolete | Integrated Circuits (ICs) | IC REG LINEAR 2.5V 3A TO220-5 |
Texas Instruments LMS1585ACSX-ADJObsolete | Integrated Circuits (ICs) | IC REG LIN POS ADJ 5A DDPAK |
Texas Instruments INA111APG4Obsolete | Integrated Circuits (ICs) | IC INST AMP 1 CIRCUIT 8DIP |
Texas Instruments | Integrated Circuits (ICs) | AUTOMOTIVE, QUAD 36V 1.2MHZ OPERATIONAL AMPLIFIER |
Texas Instruments OPA340NA/3KG4Unknown | Integrated Circuits (ICs) | IC OPAMP GP 1 CIRCUIT SOT23-5 |
Texas Instruments PT5112AObsolete | Power Supplies - Board Mount | DC DC CONVERTER 8V 8W |
| Series | Category | # Parts | Status | Description |
|---|---|---|---|---|
TMUX61360.5-pA on-state leakage current, ±16.5-V, 2:1 (SPDT), 2-channel precision analog switch | Analog Switches, Multiplexers, Demultiplexers | 1 | Active | The TMUX6136 is a complementary metal-oxide semiconductor (CMOS) analog switch containing two independently selectable SPDT switches. The devices work well with dual supplies (±5 V to ±16.5 V), a single supply (10 V to 16.5 V), or asymmetric supplies. The digital select pin (SELx) has transistor-transistor logic (TTL) compatible thresholds, ensuring TTL/ CMOS logic compatibility.
The TMUX6136 switches one of two inputs (Sx) to a common output (D), depending on the status of the SELx pins. Each switch conducts equally well in both directions in the ON position and supports input signal range up to the supplies. In the OFF condition, signal levels up to the supplies are blocked. All switches exhibit break-before-make (BBM) switching action.
The TMUX6136 is part of Texas Instruments precision switches and multiplexers family. The device has very low leakage current and charge injection, allowing them to be used in high-precision measurement applications. The device also provides excellent isolation by blocking signal levels up to the supplies when the switches are in the OFF position. Low supply current of 17 µA enables usage in portable applications.
The TMUX6136 is a complementary metal-oxide semiconductor (CMOS) analog switch containing two independently selectable SPDT switches. The devices work well with dual supplies (±5 V to ±16.5 V), a single supply (10 V to 16.5 V), or asymmetric supplies. The digital select pin (SELx) has transistor-transistor logic (TTL) compatible thresholds, ensuring TTL/ CMOS logic compatibility.
The TMUX6136 switches one of two inputs (Sx) to a common output (D), depending on the status of the SELx pins. Each switch conducts equally well in both directions in the ON position and supports input signal range up to the supplies. In the OFF condition, signal levels up to the supplies are blocked. All switches exhibit break-before-make (BBM) switching action.
The TMUX6136 is part of Texas Instruments precision switches and multiplexers family. The device has very low leakage current and charge injection, allowing them to be used in high-precision measurement applications. The device also provides excellent isolation by blocking signal levels up to the supplies when the switches are in the OFF position. Low supply current of 17 µA enables usage in portable applications. |
TMUX620236V, latch-up immune, 1:1 (SPST) 1-channel precision switch with 1.8V logic (active high) | Integrated Circuits (ICs) | 1 | Active | The TMUX620x is a complementary metal-oxide semiconductor (CMOS) in a single channel, 1:1 (SPST) configuration. The device works with a single supply (4.5V to 36V), dual supplies (±4.5V to ±18V), or asymmetric supplies (such as VDD = 12V, VSS = –5V). The TMUX620x supports bidirectional analog and digital signals on the source (S) and drain (D) pin ranging from VSS to VDD.
The TMUX620x can be enabled or disabled by controlling the SEL pin. When disabled, both signal path switches are off. All logic control inputs support logic levels from 1.8V to VDD, which is compatible for both TTL and CMOS logic when operating in the valid supply voltage range. Fail-Safe Logic circuitry allows voltages on the control pins to be applied before the supply pin, protecting the device from potential damage.
The TMUX620x is a complementary metal-oxide semiconductor (CMOS) in a single channel, 1:1 (SPST) configuration. The device works with a single supply (4.5V to 36V), dual supplies (±4.5V to ±18V), or asymmetric supplies (such as VDD = 12V, VSS = –5V). The TMUX620x supports bidirectional analog and digital signals on the source (S) and drain (D) pin ranging from VSS to VDD.
The TMUX620x can be enabled or disabled by controlling the SEL pin. When disabled, both signal path switches are off. All logic control inputs support logic levels from 1.8V to VDD, which is compatible for both TTL and CMOS logic when operating in the valid supply voltage range. Fail-Safe Logic circuitry allows voltages on the control pins to be applied before the supply pin, protecting the device from potential damage. |
TMUX620836-V, low-RON, 8:1 precision multiplexer with 1.8-V logic | Analog Switches, Multiplexers, Demultiplexers | 1 | Active | 36-V, low-RON, 8:1 precision multiplexer with 1.8-V logic |
TMUX620936-V, low Ron, 4:1, two-channel, multiplexer with 1.8-V logic control | Analog Switches, Multiplexers, Demultiplexers | 1 | Active | 36-V, low Ron, 4:1, two-channel, multiplexer with 1.8-V logic control |
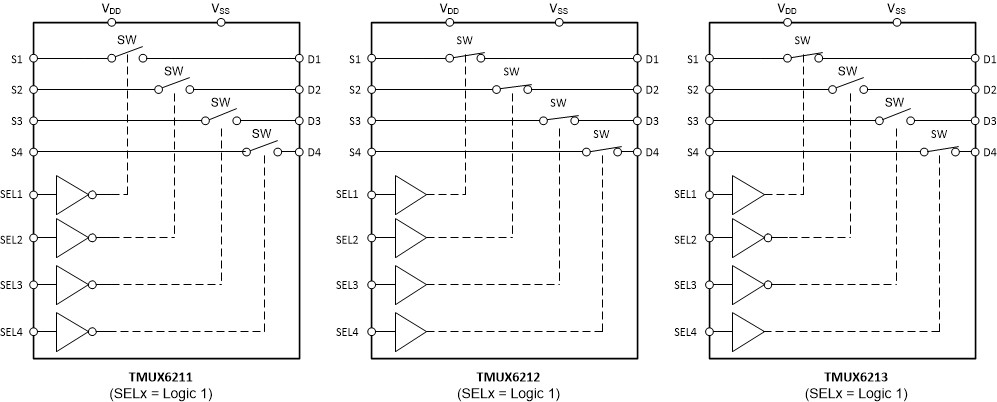
TMUX621136-V Low Ron, 1:1, 4 channel, multiplexer with 1.8V logic control | Integrated Circuits (ICs) | 2 | Active | The TMUX6211, TMUX6212, and TMUX6213 are complementary metal-oxide semiconductor (CMOS) switches with four independently selectable 1:1, single-pole, single-throw (SPST) switch channels. The devices work with a single supply (4.5V to 36V), dual supplies (±4.5V to ±18V), or asymmetric supplies (such as VDD = 12V, VSS = –5V). The TMUX621x supports bidirectional analog and digital signals on the source (Sx) and drain (Dx) pins ranging from VSS to VDD.
The switches of the TMUX621x are controlled with appropriate logic control inputs on the SELx pins. The TMUX621x are part of the precision switches and multiplexers family of devices and have very low on and off leakage currents allowing them to be used in high precision measurement applications.
The TMUX6211, TMUX6212, and TMUX6213 are complementary metal-oxide semiconductor (CMOS) switches with four independently selectable 1:1, single-pole, single-throw (SPST) switch channels. The devices work with a single supply (4.5V to 36V), dual supplies (±4.5V to ±18V), or asymmetric supplies (such as VDD = 12V, VSS = –5V). The TMUX621x supports bidirectional analog and digital signals on the source (Sx) and drain (Dx) pins ranging from VSS to VDD.
The switches of the TMUX621x are controlled with appropriate logic control inputs on the SELx pins. The TMUX621x are part of the precision switches and multiplexers family of devices and have very low on and off leakage currents allowing them to be used in high precision measurement applications. |
TMUX621236-V low RON, 1:1, four-channel, multiplexer with 1.8-V logic control | Interface | 1 | Active | The TMUX6211, TMUX6212, and TMUX6213 are complementary metal-oxide semiconductor (CMOS) switches with four independently selectable 1:1, single-pole, single-throw (SPST) switch channels. The devices work with a single supply (4.5V to 36V), dual supplies (±4.5V to ±18V), or asymmetric supplies (such as VDD = 12V, VSS = –5V). The TMUX621x supports bidirectional analog and digital signals on the source (Sx) and drain (Dx) pins ranging from VSS to VDD.
The switches of the TMUX621x are controlled with appropriate logic control inputs on the SELx pins. The TMUX621x are part of the precision switches and multiplexers family of devices and have very low on and off leakage currents allowing them to be used in high precision measurement applications.
The TMUX6211, TMUX6212, and TMUX6213 are complementary metal-oxide semiconductor (CMOS) switches with four independently selectable 1:1, single-pole, single-throw (SPST) switch channels. The devices work with a single supply (4.5V to 36V), dual supplies (±4.5V to ±18V), or asymmetric supplies (such as VDD = 12V, VSS = –5V). The TMUX621x supports bidirectional analog and digital signals on the source (Sx) and drain (Dx) pins ranging from VSS to VDD.
The switches of the TMUX621x are controlled with appropriate logic control inputs on the SELx pins. The TMUX621x are part of the precision switches and multiplexers family of devices and have very low on and off leakage currents allowing them to be used in high precision measurement applications. |
TMUX621336-V Low Ron, 1:1, 4 channel, multiplexer with 1.8V logic control | Integrated Circuits (ICs) | 2 | Active | The TMUX6211, TMUX6212, and TMUX6213 are complementary metal-oxide semiconductor (CMOS) switches with four independently selectable 1:1, single-pole, single-throw (SPST) switch channels. The devices work with a single supply (4.5V to 36V), dual supplies (±4.5V to ±18V), or asymmetric supplies (such as VDD = 12V, VSS = –5V). The TMUX621x supports bidirectional analog and digital signals on the source (Sx) and drain (Dx) pins ranging from VSS to VDD.
The switches of the TMUX621x are controlled with appropriate logic control inputs on the SELx pins. The TMUX621x are part of the precision switches and multiplexers family of devices and have very low on and off leakage currents allowing them to be used in high precision measurement applications.
The TMUX6211, TMUX6212, and TMUX6213 are complementary metal-oxide semiconductor (CMOS) switches with four independently selectable 1:1, single-pole, single-throw (SPST) switch channels. The devices work with a single supply (4.5V to 36V), dual supplies (±4.5V to ±18V), or asymmetric supplies (such as VDD = 12V, VSS = –5V). The TMUX621x supports bidirectional analog and digital signals on the source (Sx) and drain (Dx) pins ranging from VSS to VDD.
The switches of the TMUX621x are controlled with appropriate logic control inputs on the SELx pins. The TMUX621x are part of the precision switches and multiplexers family of devices and have very low on and off leakage currents allowing them to be used in high precision measurement applications. |
TMUX621936-V low Ron 2:1 one channel multiplexer with 1.8-V logic control | Interface | 2 | Active | The TMUX6219 is a complementary metal-oxide semiconductor (CMOS) switch in a single channel, 2:1 (SPDT) configuration. The device works with single supply (4.5V to 36V), dual supplies (±4.5V to ±18V), or asymmetric supplies (such as VDD = 5V, VSS = −8V). The TMUX6219 supports bidirectional analog and digital signals on the source (Sx) and drain (D) pins ranging from VSS to VDD.
The TMUX6219 can be enabled or disabled by controlling the EN pin. When disabled, both signal path switches are off. When enabled, the SEL pin can be used to turn on signal path 1 (S1 to D) or signal path 2 (S2 to D). All logic control inputs support logic levels from 1.8V to VDD, ensuring both TTL and CMOS logic compatibility when operating in the valid supply voltage range. Fail-Safe Logic circuitry allows voltages on the control pins to be applied before the supply pin, protecting the device from potential damage.
The TMUX6219 is part of the precision switches and multiplexers family of devices. These devices have very low on and off leakage currents and low charge injection, allowing them to be used in high precision measurement applications.
The TMUX6219 is a complementary metal-oxide semiconductor (CMOS) switch in a single channel, 2:1 (SPDT) configuration. The device works with single supply (4.5V to 36V), dual supplies (±4.5V to ±18V), or asymmetric supplies (such as VDD = 5V, VSS = −8V). The TMUX6219 supports bidirectional analog and digital signals on the source (Sx) and drain (D) pins ranging from VSS to VDD.
The TMUX6219 can be enabled or disabled by controlling the EN pin. When disabled, both signal path switches are off. When enabled, the SEL pin can be used to turn on signal path 1 (S1 to D) or signal path 2 (S2 to D). All logic control inputs support logic levels from 1.8V to VDD, ensuring both TTL and CMOS logic compatibility when operating in the valid supply voltage range. Fail-Safe Logic circuitry allows voltages on the control pins to be applied before the supply pin, protecting the device from potential damage.
The TMUX6219 is part of the precision switches and multiplexers family of devices. These devices have very low on and off leakage currents and low charge injection, allowing them to be used in high precision measurement applications. |
TMUX6219-Q1Automotive 36-V, low Ron, 2:1 (SPDT) switch with 1.8-V logic | Analog Switches, Multiplexers, Demultiplexers | 1 | Active | The TMUX6219-Q1 is a complementary metal-oxide semiconductor (CMOS) switch in a single channel, 2:1 (SPDT) configuration. The device works with single supply (4.5V to 36V), dual supplies (±4.5V to ±18V), or asymmetric supplies (such as VDD = 5V, VSS = −8V). The TMUX6219-Q1 supports bidirectional analog and digital signals on the source (Sx) and drain (D) pins ranging from VSS to VDD.
The TMUX6219-Q1 can be enabled or disabled by controlling the EN pin. When disabled, both signal path switches are off. When enabled, the SEL pin can be used to turn on signal path 1 (S1 to D) or signal path 2 (S2 to D). All logic control inputs support logic levels from 1.8V to VDD, ensuring both TTL and CMOS logic compatibility when operating in the valid supply voltage range. Fail-Safe Logic circuitry allows voltages on the control pins to be applied before the supply pin, protecting the device from potential damage.
The TMUX6219-Q1 is part of the precision switches and multiplexers family of devices. These devices have very low on and off leakage currents and low charge injection, allowing them to be used in high precision measurement applications.
The TMUX6219-Q1 is a complementary metal-oxide semiconductor (CMOS) switch in a single channel, 2:1 (SPDT) configuration. The device works with single supply (4.5V to 36V), dual supplies (±4.5V to ±18V), or asymmetric supplies (such as VDD = 5V, VSS = −8V). The TMUX6219-Q1 supports bidirectional analog and digital signals on the source (Sx) and drain (D) pins ranging from VSS to VDD.
The TMUX6219-Q1 can be enabled or disabled by controlling the EN pin. When disabled, both signal path switches are off. When enabled, the SEL pin can be used to turn on signal path 1 (S1 to D) or signal path 2 (S2 to D). All logic control inputs support logic levels from 1.8V to VDD, ensuring both TTL and CMOS logic compatibility when operating in the valid supply voltage range. Fail-Safe Logic circuitry allows voltages on the control pins to be applied before the supply pin, protecting the device from potential damage.
The TMUX6219-Q1 is part of the precision switches and multiplexers family of devices. These devices have very low on and off leakage currents and low charge injection, allowing them to be used in high precision measurement applications. |
TMUX622136-V, latch-up immune, 1:1 (SPST) 2 channel precision switch with 1.8V logic (active high) | Analog Switches, Multiplexers, Demultiplexers | 1 | Active | The TMUX622x are complementary metal-oxide semiconductor (CMOS) switch in a dual channel, 1:1 (SPST) configuration. The device works with a single supply (4.5 V to 36 V), dual supplies (±4.5 V to ±18 V), or asymmetric supplies (such as VDD = 12 V, VSS = –5 V). The TMUX622x supports bidirectional analog and digital signals on the source (Sx) and drain (D) pins ranging from VSS to VDD.
The TMUX622x can be enabled or disabled by controlling the SEL pins, turning on signal path 1 (S1 to D1) or signal path 2 (S2 to D2). All logic control inputs support logic levels from 1.8 V to VDD, allowing for both TTL and CMOS logic compatibility when operating in the valid supply voltage range. Fail-Safe Logic circuitry allows voltages on the control pins to be applied before the supply pin, protecting the device from potential damage.
The TMUX622x is part of the precision switches and multiplexers family of devices. These devices have very low on and off leakage currents, 50 pA, allowing them to be used in high precision measurement applications.
The TMUX622x are complementary metal-oxide semiconductor (CMOS) switch in a dual channel, 1:1 (SPST) configuration. The device works with a single supply (4.5 V to 36 V), dual supplies (±4.5 V to ±18 V), or asymmetric supplies (such as VDD = 12 V, VSS = –5 V). The TMUX622x supports bidirectional analog and digital signals on the source (Sx) and drain (D) pins ranging from VSS to VDD.
The TMUX622x can be enabled or disabled by controlling the SEL pins, turning on signal path 1 (S1 to D1) or signal path 2 (S2 to D2). All logic control inputs support logic levels from 1.8 V to VDD, allowing for both TTL and CMOS logic compatibility when operating in the valid supply voltage range. Fail-Safe Logic circuitry allows voltages on the control pins to be applied before the supply pin, protecting the device from potential damage.
The TMUX622x is part of the precision switches and multiplexers family of devices. These devices have very low on and off leakage currents, 50 pA, allowing them to be used in high precision measurement applications. |