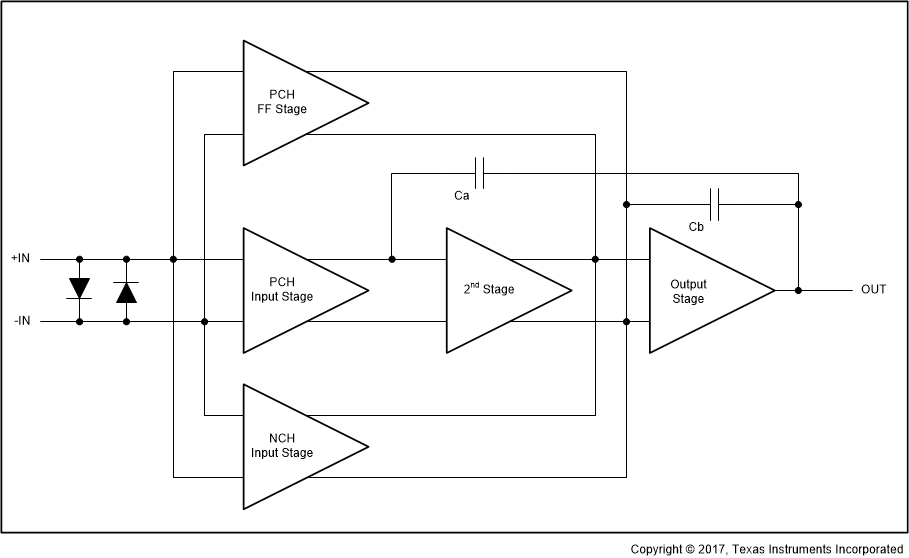
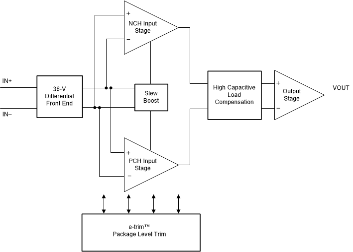
TLV197-Q1Automotive, single channel, high-voltage, precision, RRIO op amp | Amplifiers | 1 | Active | The TLV197-Q1, TLV2197-Q1 and TLV4197-Q1 (TLVx197-Q1) family of devices are part of a new generation, of low-cost, 36-V, automotive-qualified, operational amplifiers. The TLVx197-Q1 family uses a method of package-level trim for offset and offset temperature drift implemented during the final steps of manufacturing after the plastic molding process. This method minimizes the influence of inherent input transistor mismatch, as well as errors induced during package molding.
Good dc precision and ac performance including rail-to-rail input/output, an optimized cost structure, and AEC-Q100 grade 1 qualification, make this family an excellent choice for low-side current-sensing and signal-conditioning applications in the automotive space.
More unique features, such as a differential input-voltage range to the supply rail, a high output current (±65 mA), a heavy capacitive load drive of up to 1 nF, and a high slew rate (20 V/µs), make these devices a robust, high-performance operational amplifier family for high-voltage automotive applications.
The TLVx197-Q1 family of op amps is available in standard packages and is specified from –40°C to +125°C.
The TLV197-Q1, TLV2197-Q1 and TLV4197-Q1 (TLVx197-Q1) family of devices are part of a new generation, of low-cost, 36-V, automotive-qualified, operational amplifiers. The TLVx197-Q1 family uses a method of package-level trim for offset and offset temperature drift implemented during the final steps of manufacturing after the plastic molding process. This method minimizes the influence of inherent input transistor mismatch, as well as errors induced during package molding.
Good dc precision and ac performance including rail-to-rail input/output, an optimized cost structure, and AEC-Q100 grade 1 qualification, make this family an excellent choice for low-side current-sensing and signal-conditioning applications in the automotive space.
More unique features, such as a differential input-voltage range to the supply rail, a high output current (±65 mA), a heavy capacitive load drive of up to 1 nF, and a high slew rate (20 V/µs), make these devices a robust, high-performance operational amplifier family for high-voltage automotive applications.
The TLVx197-Q1 family of op amps is available in standard packages and is specified from –40°C to +125°C. |
TLV2170Dual, 36-V, 1.2-MHz, low-power operational amplifier for cost-sensitive applications | Linear | 3 | Active | The TLVx170 family of electromagnetic interference (EMI)-hardened, 36-V, single-supply, low-noise operational amplifiers (op amps) have a THD+N of 0.0002% at 1 kHz and can operate on supplies that range from 2.7 V (±1.35 V) to 36 V (±18V). These features, along with low noise and very high power-supply rejection ratio (PSRR), make the single-channel TLV170, dual-channel TLV2170, and quad-channel TLV4170 suitable for use in microvolt-level signal amplification. The TLVx170 family of devices also gives good offset, drift, and bandwidth with low quiescent current.
Unlike most op amps that are specified at only one supply voltage, the TLVx170 family of op amps is specified from 2.7 V to 36 V with the ability to swing input signals beyond the supply rails without phase reversal. The TLVx170 family is also unity-gain stable with a 200-pF capacitive load with a 1.2-MHz bandwidth and a 0.4-V/µs slew rate for use in current-to-voltage converters.
The device inputs can operate 100 mV below the negative rail and within 2 V of the positive rail for normal operation, and with full rail-to-rail input with reduced performance. The TLVx170 devices are specified from –40°C to +125°C.
The TLVx170 family of electromagnetic interference (EMI)-hardened, 36-V, single-supply, low-noise operational amplifiers (op amps) have a THD+N of 0.0002% at 1 kHz and can operate on supplies that range from 2.7 V (±1.35 V) to 36 V (±18V). These features, along with low noise and very high power-supply rejection ratio (PSRR), make the single-channel TLV170, dual-channel TLV2170, and quad-channel TLV4170 suitable for use in microvolt-level signal amplification. The TLVx170 family of devices also gives good offset, drift, and bandwidth with low quiescent current.
Unlike most op amps that are specified at only one supply voltage, the TLVx170 family of op amps is specified from 2.7 V to 36 V with the ability to swing input signals beyond the supply rails without phase reversal. The TLVx170 family is also unity-gain stable with a 200-pF capacitive load with a 1.2-MHz bandwidth and a 0.4-V/µs slew rate for use in current-to-voltage converters.
The device inputs can operate 100 mV below the negative rail and within 2 V of the positive rail for normal operation, and with full rail-to-rail input with reduced performance. The TLVx170 devices are specified from –40°C to +125°C. |
TLV2171Dual, 36-V, 3-MHz, low-power operational amplifier for cost-sensitive applications | Linear | 2 | Active | The 36-V TLVx171 family provides a low-power option for cost-conscious industrial and personal electronics systems requiring an electromagnetic interference (EMI)-hardened, low-noise, single-supply operational amplifier (op amp) that operates on supplies ranging from 2.7 V (±1.35 V) to 36 V (±18 V). The single-channel TLV171, dual-channel TLV2171, and quad-channel TLV4171 provide low offset, drift, quiescent current balanced with high bandwidth for the power. The devices are available in micropackages for space-constrained systems and feature identical specifications for maximum design flexibility.
Unlike most op amp, which are specified at only one supply voltage, the TLVx171 family is specified from 2.7 V to 36 V. Input signals beyond the supply rails do not cause phase reversal. The TLVx171 family is stable with capacitive loads up to 200 pF. The input can operate 100 mV below the negative rail and within 2 V of the top rail during normal operation. These devices can operate with a full rail-to-rail input 100 mV beyond the top rail, but with reduced performance within 2 V of the top rail.
The TLVx171 op amp family is specified from –40°C to +125°C.
The 36-V TLVx171 family provides a low-power option for cost-conscious industrial and personal electronics systems requiring an electromagnetic interference (EMI)-hardened, low-noise, single-supply operational amplifier (op amp) that operates on supplies ranging from 2.7 V (±1.35 V) to 36 V (±18 V). The single-channel TLV171, dual-channel TLV2171, and quad-channel TLV4171 provide low offset, drift, quiescent current balanced with high bandwidth for the power. The devices are available in micropackages for space-constrained systems and feature identical specifications for maximum design flexibility.
Unlike most op amp, which are specified at only one supply voltage, the TLVx171 family is specified from 2.7 V to 36 V. Input signals beyond the supply rails do not cause phase reversal. The TLVx171 family is stable with capacitive loads up to 200 pF. The input can operate 100 mV below the negative rail and within 2 V of the top rail during normal operation. These devices can operate with a full rail-to-rail input 100 mV beyond the top rail, but with reduced performance within 2 V of the top rail.
The TLVx171 op amp family is specified from –40°C to +125°C. |
TLV2172-Q12-Channel, 10-MHz, high slew rate, automotive grade op amp for cost-optimized systems | Integrated Circuits (ICs) | 4 | Active | The TLVx172 family of electromagnetic interference (EMI)-hardened, 36-V, single-supply, low-noise operational amplifiers (op amps) features a THD+N of 0.0002% at 1 kHz with the ability to operate on supplies ranging from 4.5 V (±2.25 V) to 36 V (±18V). These features, along with low noise and very high PSRR, enable the TLVx172 to amplify microvolt-level signals in applications such as HEV and EV automobiles and power trains, medical instrumentation, and more. The TLVx172 device offers good offset and drift, a high bandwidth of 10 MHz, and a slew rate of 10 V/µs with only 2.3 mA of quiescent current over temperature (maximum).
Unlike most op amps that are specified at only one supply voltage, the TLVx172 device is specified from 4.5 V to 36 V. Input signals beyond the supply rails do not cause phase reversal. TLVx172 device is stable with capacitive loads up to 300 pF. The input can operate 100 mV below the negative rail and within 2 V of the positive rail for normal operation. Note that the device can operate with a full rail-to-rail input 100 mV beyond the positive rail, but with reduced performance within 2 V of the positive rail.
The TLVx172 op amp is specified from –40°C to +125°C.
The TLVx172 family of electromagnetic interference (EMI)-hardened, 36-V, single-supply, low-noise operational amplifiers (op amps) features a THD+N of 0.0002% at 1 kHz with the ability to operate on supplies ranging from 4.5 V (±2.25 V) to 36 V (±18V). These features, along with low noise and very high PSRR, enable the TLVx172 to amplify microvolt-level signals in applications such as HEV and EV automobiles and power trains, medical instrumentation, and more. The TLVx172 device offers good offset and drift, a high bandwidth of 10 MHz, and a slew rate of 10 V/µs with only 2.3 mA of quiescent current over temperature (maximum).
Unlike most op amps that are specified at only one supply voltage, the TLVx172 device is specified from 4.5 V to 36 V. Input signals beyond the supply rails do not cause phase reversal. TLVx172 device is stable with capacitive loads up to 300 pF. The input can operate 100 mV below the negative rail and within 2 V of the positive rail for normal operation. Note that the device can operate with a full rail-to-rail input 100 mV beyond the positive rail, but with reduced performance within 2 V of the positive rail.
The TLVx172 op amp is specified from –40°C to +125°C. |
TLV2186Low power, rail-to-rail input and output, 24-V, zero-drift operational amplifier | Instrumentation, Op Amps, Buffer Amps | 2 | Active | The TLV2186 is a low-power, 24-V, rail-to-rail input and output zero-drift operational amplifier (op amp). The TLV2186 features only 10 µV of offset voltage (typical) and 0.1 µV/°C of offset voltage drift over temperature (typical). This device is a great choice for precision instrumentation, signal measurement, and active filtering applications.
Low quiescent current consumption (90 µA) makes the TLV2186 an excellent option for power-sensitive applications, such as battery-powered instrumentation and portable systems.
Moreover, the high common-mode architecture along with low offset voltage allows for high-side current shunt monitoring at the positive rail. This device also provides robust ESD protection during shipment, handling, and assembly.
The device is specified for operation from –40°C to +125°C. The TLV2186 is offered in WSON-8 and SO-8 packages.
The TLV2186 is a low-power, 24-V, rail-to-rail input and output zero-drift operational amplifier (op amp). The TLV2186 features only 10 µV of offset voltage (typical) and 0.1 µV/°C of offset voltage drift over temperature (typical). This device is a great choice for precision instrumentation, signal measurement, and active filtering applications.
Low quiescent current consumption (90 µA) makes the TLV2186 an excellent option for power-sensitive applications, such as battery-powered instrumentation and portable systems.
Moreover, the high common-mode architecture along with low offset voltage allows for high-side current shunt monitoring at the positive rail. This device also provides robust ESD protection during shipment, handling, and assembly.
The device is specified for operation from –40°C to +125°C. The TLV2186 is offered in WSON-8 and SO-8 packages. |
| Amplifiers | 2 | Obsolete | |
TLV2217500-mA, 12-V, low-dropout voltage regulator | Integrated Circuits (ICs) | 11 | Active | The TLV2217 family of low-dropout regulators offers a variety of fixed-voltage options that offer a maximum continuous input voltage of 16 V, making them more versatile than CMOS regulators. Utilizing a PNP pass element, these regulators are capable of sourcing 500 mA of current, with a specified maximum dropout of 500 mV (3.3-V and 2.5-V options), making these regulators ideal for low-voltage applications. Additionally, the TLV2217 regulators offer very tight output accuracy of ±2% across operating load and temperature ranges. Other convenient features the regulators provide are internal overcurrent limiting, thermal-overload protection, and overvoltage protection. The TLV2217 family of regulators is available in fixed voltages of 1.8 V, 2.5 V, and 3.3 V.
The TLV2217 family of low-dropout regulators offers a variety of fixed-voltage options that offer a maximum continuous input voltage of 16 V, making them more versatile than CMOS regulators. Utilizing a PNP pass element, these regulators are capable of sourcing 500 mA of current, with a specified maximum dropout of 500 mV (3.3-V and 2.5-V options), making these regulators ideal for low-voltage applications. Additionally, the TLV2217 regulators offer very tight output accuracy of ±2% across operating load and temperature ranges. Other convenient features the regulators provide are internal overcurrent limiting, thermal-overload protection, and overvoltage protection. The TLV2217 family of regulators is available in fixed voltages of 1.8 V, 2.5 V, and 3.3 V. |
TLV2221Single, 10-V, 510-kHz operational amplifier with high output current (10 mA) | Integrated Circuits (ICs) | 5 | Active | The TLV2221 is a single low-voltage operational amplifier available in the SOT-23 package. It offers a compromise between the ac performance and output drive of the TLV2231 and the micropower TLV2211.
It consumes only 150 µA (max) of supply current and is ideal for battery-powered applications. The device exhibits rail-to-rail output performance for increased dynamic range in single- or split-supply applications. The TLV2221 is fully characterized at 3 V and 5 V and is optimized for low-voltage applications.
The TLV2221, exhibiting high input impedance and low noise, is excellent for small-signal conditioning for high-impedance sources, such as piezoelectric transducers. Because of the micropower dissipation levels combined with 3-V operation, these devices work well in hand-held monitoring and remote-sensing applications. In addition, the rail-to-rail output feature with single or split supplies makes this family a great choice when interfacing with analog-to-digital converters (ADCs).
With a total area of 5.6mm2, the SOT-23 package only requires one third the board space of the standard 8-pin SOIC package. This ultra-small package allows designers to place single amplifiers very close to the signal source, minimizing noise pick-up from long PCB traces. TI has also taken special care to provide a pinout that is optimized for board layout. Both inputs are separated by GND to prevent coupling or leakage paths. The OUT and IN- terminals are on the same end of the board to provide negative feedback. Finally, gain setting resistors and decoupling capacitor are easily placed around the package.
The TLV2221 is a single low-voltage operational amplifier available in the SOT-23 package. It offers a compromise between the ac performance and output drive of the TLV2231 and the micropower TLV2211.
It consumes only 150 µA (max) of supply current and is ideal for battery-powered applications. The device exhibits rail-to-rail output performance for increased dynamic range in single- or split-supply applications. The TLV2221 is fully characterized at 3 V and 5 V and is optimized for low-voltage applications.
The TLV2221, exhibiting high input impedance and low noise, is excellent for small-signal conditioning for high-impedance sources, such as piezoelectric transducers. Because of the micropower dissipation levels combined with 3-V operation, these devices work well in hand-held monitoring and remote-sensing applications. In addition, the rail-to-rail output feature with single or split supplies makes this family a great choice when interfacing with analog-to-digital converters (ADCs).
With a total area of 5.6mm2, the SOT-23 package only requires one third the board space of the standard 8-pin SOIC package. This ultra-small package allows designers to place single amplifiers very close to the signal source, minimizing noise pick-up from long PCB traces. TI has also taken special care to provide a pinout that is optimized for board layout. Both inputs are separated by GND to prevent coupling or leakage paths. The OUT and IN- terminals are on the same end of the board to provide negative feedback. Finally, gain setting resistors and decoupling capacitor are easily placed around the package. |
| Linear | 4 | Active | |
| Amplifiers | 2 | Obsolete | |