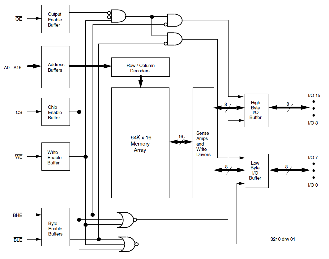
71016S5.0V 64K x 16 Asynchronous Static RAM | Integrated Circuits (ICs) | 17 | Active | The 71016 5V CMOS SRAM is organized as 64K x 16. All bidirectional inputs and outputs of the 71016 are TTL compatible and operation is from a single 5V supply. Fully static asynchronous circuitry is used, requiring no clocks or refresh for operation. |
71024S5.0V 128K x 8 Asynchronous Static RAM with Corner Power & Ground Pinout | Integrated Circuits (ICs) | 19 | Active | The 71024 5V CMOS SRAM is organized as 128K x 8. All bidirectional inputs and outputs of the 71024 are TTL-compatible, and operation is from a single 5V supply. Fully static asynchronous circuitry is used; no clocks or refreshes are required for operation. |
71124S5.0V 128K x 8 Asynchronous Static RAM Center Pwr & Gnd Pinout | Memory | 6 | Obsolete | The 71124 5V CMOS SRAM is organized as 128K x 8. The JEDEC centerpower/GND pinout reduces noise generation and improves system performance. All bidirectional inputs and outputs of the 71124 are TTL-compatible and operation is from a single 5V supply. Fully static asynchronous circuitry is used; no clocks or refreshes are required for operation. |
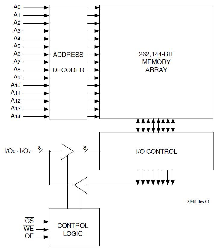
71256L5.0V 32K x 8 Asynchronous Static RAM | Integrated Circuits (ICs) | 22 | Active | The 71256 5V CMOS SRAM is organized as 32K x 8. The circuit also offers a reduced power standby mode for significant system level power and cooling savings. The low-power (L) version also offers a battery backup data retention capability allowing operation off a 2V battery. Fully static asynchronous circuitry is used; no clocks or refreshes are required for operation. Military grade product is available. |
71256SA5.0V 32K x 8 Asynchronous Static Ram | Integrated Circuits (ICs) | 32 | Obsolete | The 71256SA 5V CMOS SRAM is organized as 32K x 8. All bidirectional inputs and outputs of the 71256SA are TTL-compatible and operation is from a single 5V supply. Fully static asynchronous circuitry is used, requiring no clocks or refresh for operation. |
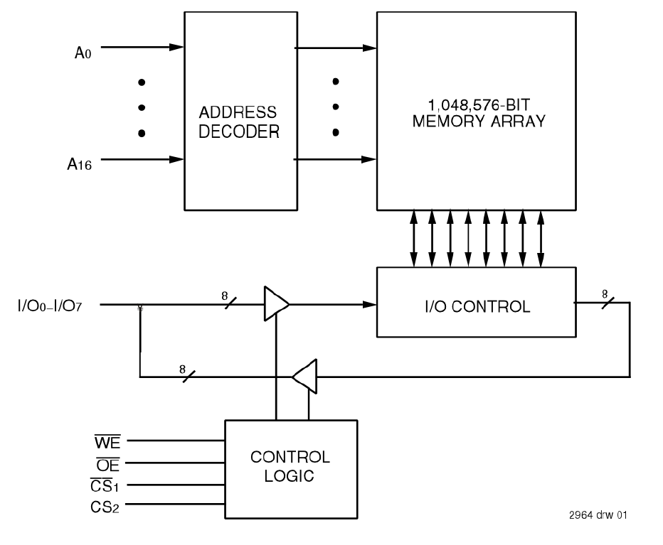
| Memory | 108 | Active | The 7130 is a high-speed 1K x 8 Dual-Port Static RAM designed to be used as a stand-alone 8-bit Dual-Port RAM or as a "MASTER" Dual-Port RAM together with the 7140 "SLAVE" Dual-Port in 16-bit-or-more word width systems which would result in full-speed, error free operation without the need for additional discrete logic. An automatic power down feature, controlled by CE, permits the on chip circuitry of each port to enter a very low standby power mode. Military grade product in compliance with MIL-PRF-38535 QML is available. |
| Integrated Circuits (ICs) | 59 | Active | The 71321 is a high-speed 2K x 8 Dual-Port Static RAM with internal interrupt logic for interprocessor communications. It is designed to be used as a stand-alone 8-bit Dual-Port RAM or as a "MASTER" Dual-Port RAM together with the 71421 "SLAVE" Dual-Port in 16-bit-or-more word width systems which would result in full-speed, error free operation without the need for additional discrete logic. An automatic power down feature, controlled by CE, permits the on chip circuitry of each port to enter a very low standby power mode. |
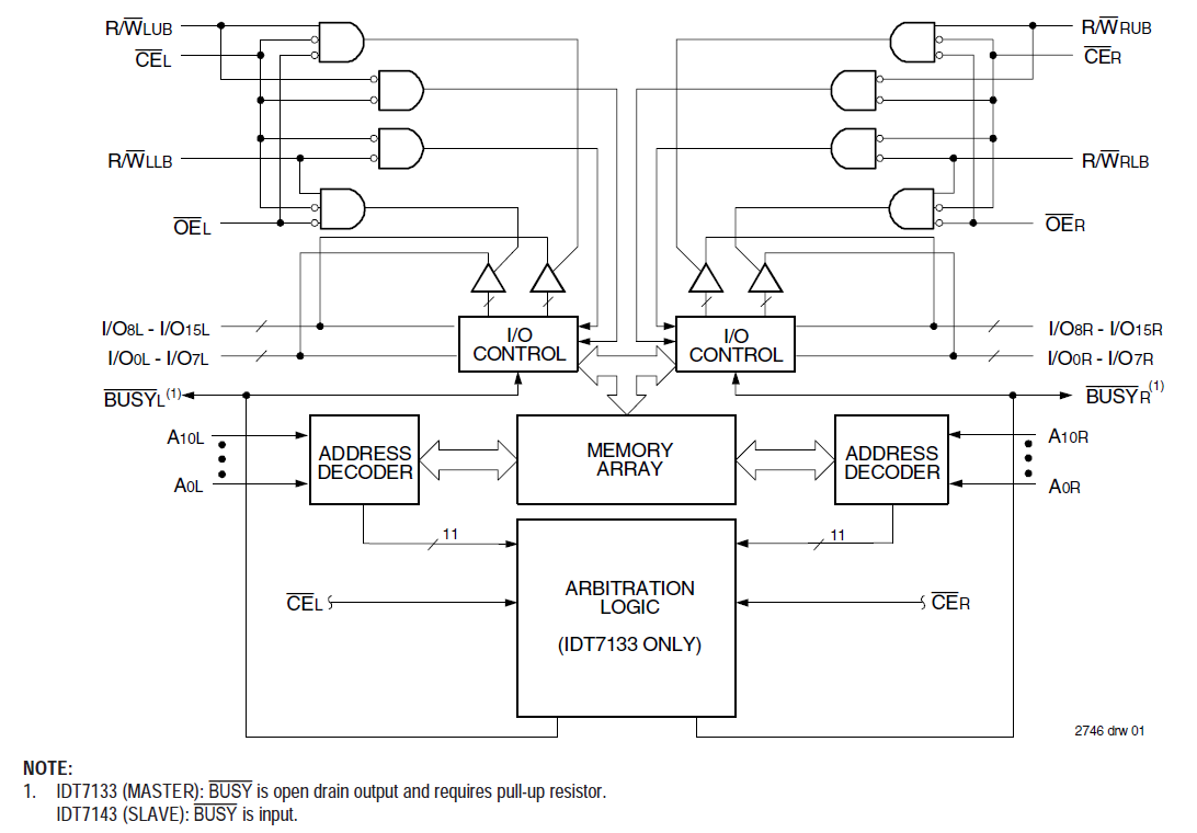
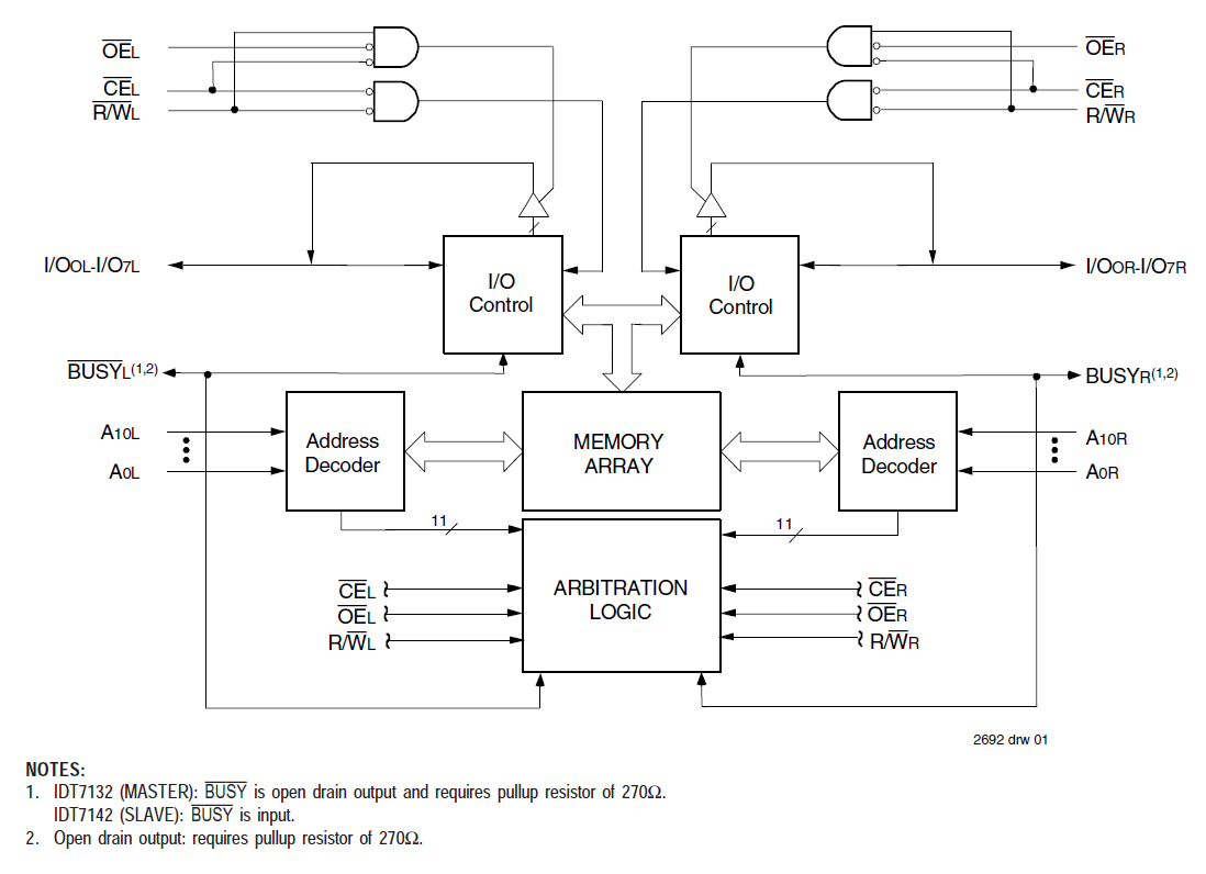
| Memory | 57 | Active | The 7132 is a high-speed 2K x 8 Dual-Port Static RAM designed to be used as a stand-alone 8-bit Dual-Port RAM or as a "MASTER" Dual-Port RAM together with the 7142 "SLAVE" Dual-Port in 16-bit-or-more word width systems which would result in full-speed, error free operation without the need for additional discrete logic. An automatic power down feature, controlled by CE, permits the on chip circuitry of each port to enter a very low standby power mode. Military grade product in compliance with MIL-PRF-38535 QML is available. |
| Integrated Circuits (ICs) | 87 | Active | The 7133 high-speed 2K x 16 Dual-Port Static RAMs is designed to be used as a stand-alone 16-bit Dual-Port RAM or as a "MASTER" Dual-Port RAM together with the 7143 "SLAVE" Dual-Port in 32-bit-or-more word width systems. Low-power (LA) versions offer battery backup data retention capability, with each port typically consuming 200μW for a 2V battery. Military grade product in compliance with MIL-PRF-38535 QML is available. |
71342LA4K x 8 Dual-Port RAM w/Semaphore | Integrated Circuits (ICs) | 50 | Active | The 71342 is a high-speed 4K x 8 Dual-Port Static RAM containing a fully independent semaphore logic block to assist in arbitrating between ports. This block contains unassigned flags which can be accessed by either side, however, only one side can control the flag at any time. An automatic power down feature, controlled by CE and SEM, permits the on-chip circuitry of each port to enter a very low standby power mode (both CE and SEM HIGH). |