A
Analog Devices
| Series | Category | # Parts | Status | Description |
|---|---|---|---|---|
| Part | Spec A | Spec B | Spec C | Spec D | Description |
|---|---|---|---|---|---|
| Series | Category | # Parts | Status | Description |
|---|---|---|---|---|
| Part | Spec A | Spec B | Spec C | Spec D | Description |
|---|---|---|---|---|---|
| Part | Category | Description |
|---|---|---|
Analog Devices ADM6713RAKSZ-REELObsolete | Integrated Circuits (ICs) | IC SUPERVISOR 1 CHANNEL SC70-4 |
Analog Devices | RF and Wireless | RF AMP SINGLE GENERAL PURPOSE RF AMPLIFIER 20GHZ 3.6V 22-PIN DIE TRAY |
Analog Devices | Integrated Circuits (ICs) | LOW NOISE, SWITCHED CAPACITOR REGULATED VOLTAGE INVERTERS |
Analog Devices | Integrated Circuits (ICs) | QUAD 16-BIT/12-BIT ±10V VOUTSOFTSPAN DACS WITH 10PPM/°C MAX REFERENCE |
Analog Devices | Integrated Circuits (ICs) | SERIAL 14-BIT, 3.5MSPS SAMPLING ADC WITH BIPOLAR INPUTS |
Analog Devices | Integrated Circuits (ICs) | ISOSPI ISOLATED COMMUNICATIONS INTERFACE |
Analog Devices | Integrated Circuits (ICs) | 4.5A, 500KHZ STEP-DOWN SWITCHING REGULATOR |
Analog Devices | Integrated Circuits (ICs) | 300 MA, LOW QUIESCENT CURRENT, ADJUSTABLE OUTPUT, CMOS LINEAR REGULATOR |
Analog Devices AD767KNObsolete | Integrated Circuits (ICs) | IC DAC 12BIT V-OUT 24DIP |
Analog Devices | Integrated Circuits (ICs) | QUAD 12-/10-/8-BIT RAIL-TO-RAIL DACS WITH 10PPM/°C REFERENCE |
| Series | Category | # Parts | Status | Description |
|---|---|---|---|---|
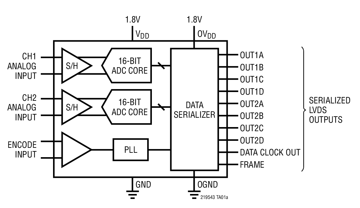
LTC219016-Bit, 25Msps Low Power Dual ADCs | Integrated Circuits (ICs) | 2 | Active | The LTC2192/LTC2191/LTC2190 are 2-channel, simultaneous sampling 16-bit A/D converters designed for digitizing high frequency, wide dynamic range signals. They are perfect for demanding communications applications with AC performance that includes 77dB SNR and 90dB spurious free dynamic range (SFDR). Ultralow jitter of 0.07psRMSallows undersampling of IF frequencies with excellent noise performance.DC specs include ±2LSB INL (typ), ±0.5LSB DNL (typ) and no missing codes over temperature. The transition noise is 3.3LSBRMS.To minimize the number of data lines the digital outputs are serial LVDS. Each channel outputs one bit, two bits or four bits at a time. The LVDS drivers have optional internal termination and adjustable output levels to ensure clean signal integrity.The ENC+and ENC–inputs may be driven differentially or single ended with a sine wave, PECL, LVDS, TTL or CMOS inputs. An internal clock duty cycle stabilizer allows high performance at full speed for a wide range of clock duty cycles.ApplicationsCommunicationsCellular Base StationsSoftware-Defined RadiosPortable Medical ImagingMulti-Channel Data AcquisitionNondestructive Testing |
LTC219316-Bit, 80Msps Low Power Dual ADCs | Integrated Circuits (ICs) | 1 | Active | The LTC2195/LTC2194/LTC2193 are 2-channel, simultaneous sampling 16-bit A/D converters designed for digitizing high frequency, wide dynamic range signals. They are perfect for demanding communications applications with AC performance that includes 76.8dB SNR and 90dB spurious free dynamic range (SFDR). Ultralow jitter of 0.07psRMSallows undersampling of IF frequencies with excellent noise performance.DC specs include ±2LSB INL (typ), ±0.5LSB DNL (typ) and no missing codes over temperature. The transition noise is 3.4LSBRMS.To minimize the number of data lines the digital outputs are serial LVDS. Each channel outputs two bits or four bits at a time. At lower sampling rates there is a one bit per channel option. The LVDS drivers have optional internal termination and adjustable output levels to ensure clean signal integrity.The ENC+and ENC–inputs may be driven differentially or single ended with a sine wave, PECL, LVDS, TTL or CMOS inputs. An internal clock duty cycle stabilizer allows high performance at full speed for a wide range of clock duty cycles.ApplicationsCommunicationsCellular Base StationsSoftware-Defined RadiosPortable Medical ImagingMulti-Channel Data AcquisitionNondestructive Testing |
LTC219416-Bit, 105Msps Low Power Dual ADCs | Data Acquisition | 1 | Active | The LTC2195/LTC2194/LTC2193 are 2-channel, simultaneous sampling 16-bit A/D converters designed for digitizing high frequency, wide dynamic range signals. They are perfect for demanding communications applications with AC performance that includes 76.8dB SNR and 90dB spurious free dynamic range (SFDR). Ultralow jitter of 0.07psRMSallows undersampling of IF frequencies with excellent noise performance.DC specs include ±2LSB INL (typ), ±0.5LSB DNL (typ) and no missing codes over temperature. The transition noise is 3.4LSBRMS.To minimize the number of data lines the digital outputs are serial LVDS. Each channel outputs two bits or four bits at a time. At lower sampling rates there is a one bit per channel option. The LVDS drivers have optional internal termination and adjustable output levels to ensure clean signal integrity.The ENC+and ENC–inputs may be driven differentially or single ended with a sine wave, PECL, LVDS, TTL or CMOS inputs. An internal clock duty cycle stabilizer allows high performance at full speed for a wide range of clock duty cycles.ApplicationsCommunicationsCellular Base StationsSoftware-Defined RadiosPortable Medical ImagingMulti-Channel Data AcquisitionNondestructive Testing |
LTC219516-Bit, 125Msps Low Power Dual ADCs | Analog to Digital Converters (ADC) | 1 | Active | The LTC2195/LTC2194/LTC2193 are 2-channel, simultaneous sampling 16-bit A/D converters designed for digitizing high frequency, wide dynamic range signals. They are perfect for demanding communications applications with AC performance that includes 76.8dB SNR and 90dB spurious free dynamic range (SFDR). Ultralow jitter of 0.07psRMSallows undersampling of IF frequencies with excellent noise performance.DC specs include ±2LSB INL (typ), ±0.5LSB DNL (typ) and no missing codes over temperature. The transition noise is 3.4LSBRMS.To minimize the number of data lines the digital outputs are serial LVDS. Each channel outputs two bits or four bits at a time. At lower sampling rates there is a one bit per channel option. The LVDS drivers have optional internal termination and adjustable output levels to ensure clean signal integrity.The ENC+and ENC–inputs may be driven differentially or single ended with a sine wave, PECL, LVDS, TTL or CMOS inputs. An internal clock duty cycle stabilizer allows high performance at full speed for a wide range of clock duty cycles.ApplicationsCommunicationsCellular Base StationsSoftware-Defined RadiosPortable Medical ImagingMulti-Channel Data AcquisitionNondestructive Testing |
LTC220116-Bit, 20Msps ADC | Data Acquisition | 2 | Active | The LTC2201 is a 20Msps, sampling 16-bit A/D converter designed for digitizing high frequency, wide dynamic range signals with input frequencies up to 380MHz. The input range of the ADC can be optimized with the PGA front end.The LTC2201 is perfect for demanding app lications, with AC performance that includes 81.6dB SNR and 100dB spurious free dynamic range (SFDR). Maximum DC specs include ±5LSB INL, ±1LSB DNL (no missing codes).A separate output power supply allows the CMOS output swing to range from 0.5V to 3.6V.A single-ended CLK input controls converter operation. An optional clock duty cycle stabilizer allows high performance at full speed with a wide range of clock duty cycles.ApplicationsTelecommunicationsReceiversCellular Base StationsSpectrum AnalysisImaging SystemsATE |
LTC220216-Bit, 10Msps ADC | Analog to Digital Converters (ADC) | 2 | Active | The LTC2203/LTC2202 are 25Msps/10Msps, sampling 16-bit A/D converters designed for digitizing high frequency, wide dynamic range signals with input frequencies up to 380MHz. The input range of the ADC can be optimized with the PGA front end.The LTC2203/LTC2202 are perfect for demanding applications, with AC performance that includes 81.6dB SNR and 100dB spurious free dynamic range (SFDR). Maximum DC specs include ±4LSB INL, ±1LSB DNL (no missing codes).A separate output power supply allows the CMOS output swing to range from 0.5V to 3.6V.A single-ended CLK input controls converter operation. An optional clock duty cycle stabilizer allows high performance at full speed with a wide range of clock duty cycles.ApplicationsTelecommunicationsReceiversCellular Base StationsSpectrum AnalysisImaging SystemsATE |
LTC220316-Bit, 25Msps ADCs | Integrated Circuits (ICs) | 1 | Active | The LTC2203/LTC2202 are 25Msps/10Msps, sampling 16-bit A/D converters designed for digitizing high frequency, wide dynamic range signals with input frequencies up to 380MHz. The input range of the ADC can be optimized with the PGA front end.The LTC2203/LTC2202 are perfect for demanding applications, with AC performance that includes 81.6dB SNR and 100dB spurious free dynamic range (SFDR). Maximum DC specs include ±4LSB INL, ±1LSB DNL (no missing codes).A separate output power supply allows the CMOS output swing to range from 0.5V to 3.6V.A single-ended CLK input controls converter operation. An optional clock duty cycle stabilizer allows high performance at full speed with a wide range of clock duty cycles.ApplicationsTelecommunicationsReceiversCellular Base StationsSpectrum AnalysisImaging SystemsATE |
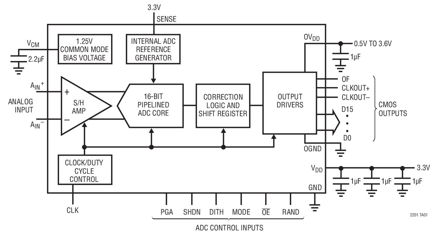
LTC220416-Bit, 40Msps ADC | Analog to Digital Converters (ADC) | 1 | Active | The LTC2205/LTC2204 are sampling 16-bit A/D converters designed for digitizing high frequency, wide dynamic range signals up to input frequencies of 700MHz. The input range of the ADC can be optimized with the PGA front end.The LTC2205/LTC2204 are perfect for demanding communications applications, with AC performance that includes 79dB SNR and 100dB spurious free dynamic range (SFDR). Ultralow jitter of 90fsRMS allows undersampling of high input frequencies with excellent noise performance. Maximum DC specs include ±4LSB INL, ±1LSB DNL (no missing codes). A separate output power supply allows the CMOS output swing to range from 0.5V to 3.6V.The ENC+and ENC–inputs may be driven differentially or single-ended with a sine wave, PECL, LVDS, TTL or CMOS inputs. An optional clock duty cycle stabilizer allows high performance at full speed with a wide range of clock duty cycles.ApplicationsTelecommunicationsReceiversCellular Base StationsSpectrum AnalysisImaging SystemsATE |
LTC2205-1416-Bit, 65Msps ADCs | Data Acquisition | 2 | Active | The LTC2205/LTC2204 are sampling 16-bit A/D converters designed for digitizing high frequency, wide dynamic range signals up to input frequencies of 700MHz. The input range of the ADC can be optimized with the PGA front end.The LTC2205/LTC2204 are perfect for demanding communications applications, with AC performance that includes 79dB SNR and 100dB spurious free dynamic range (SFDR). Ultralow jitter of 90fsRMSallows undersampling of high input frequencies with excellent noise performance. Maximum DC specs include ±4LSB INL, ±1LSB DNL (no missing codes).A separate output power supply allows the CMOS output swing to range from 0.5V to 3.6V.The ENC+and ENC–inputs may be driven differentially or single-ended with a sine wave, PECL, LVDS, TTL or CMOS inputs. An optional clock duty cycle stabilizer allows high performance at full speed with a wide range of clock duty cycles.BitsLTC2205-1414LTC2205-1616ApplicationsTelecommunicationsReceiversCellular Base StationsSpectrum AnalysisImaging SystemsATE |
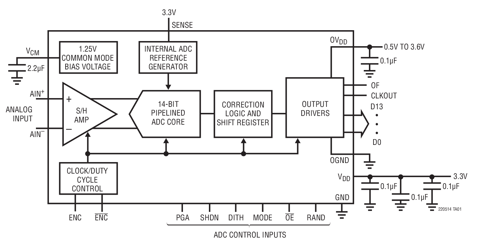
LTC2206-1416-Bit, 80Msps ADC | Analog to Digital Converters (ADC) | 5 | Active | The LTC2207-14/LTC2206-14 are 105Msps/80Msps, sampling 14-bit A/D converters designed for digitizing high frequency, wide dynamic range signals up to input frequencies of 700MHz. The input range of the ADC can be optimized with the PGA front end.The LTC2207-14/LTC2206-14 are perfect for demanding communications applications, with AC performance that includes 77.3dB SNR and 98dB spurious free dynamic range (SFDR). Ultralow jitter of 80fsRMS allows undersampling of high input frequencies with excellent noise performance. Maximum DC specs include ±1.5LSB INL, ±1LSB DNL (no missing codes) over temperature.A separate output power supply allows the CMOS output swing to range from 0.5V to 3.6V.The ENC+ and ENC– inputs may be driven differentially or single-ended with a sine wave, PECL, LVDS, TTL or CMOS inputs. An optional clock duty cycle stabilizer allows high performance at full speed with a wide range of clock duty cycles.BitsLTC2206-1414LTC2206-1616ApplicationsTelecommunicationsReceiversCellular Base StationsSpectrum AnalysisImaging SystemsATE |