A
Analog Devices
| Series | Category | # Parts | Status | Description |
|---|---|---|---|---|
| Part | Spec A | Spec B | Spec C | Spec D | Description |
|---|---|---|---|---|---|
| Series | Category | # Parts | Status | Description |
|---|---|---|---|---|
| Part | Spec A | Spec B | Spec C | Spec D | Description |
|---|---|---|---|---|---|
| Part | Category | Description |
|---|---|---|
Analog Devices ADM6713RAKSZ-REELObsolete | Integrated Circuits (ICs) | IC SUPERVISOR 1 CHANNEL SC70-4 |
Analog Devices | RF and Wireless | RF AMP SINGLE GENERAL PURPOSE RF AMPLIFIER 20GHZ 3.6V 22-PIN DIE TRAY |
Analog Devices | Integrated Circuits (ICs) | LOW NOISE, SWITCHED CAPACITOR REGULATED VOLTAGE INVERTERS |
Analog Devices | Integrated Circuits (ICs) | QUAD 16-BIT/12-BIT ±10V VOUTSOFTSPAN DACS WITH 10PPM/°C MAX REFERENCE |
Analog Devices | Integrated Circuits (ICs) | SERIAL 14-BIT, 3.5MSPS SAMPLING ADC WITH BIPOLAR INPUTS |
Analog Devices | Integrated Circuits (ICs) | ISOSPI ISOLATED COMMUNICATIONS INTERFACE |
Analog Devices | Integrated Circuits (ICs) | 4.5A, 500KHZ STEP-DOWN SWITCHING REGULATOR |
Analog Devices | Integrated Circuits (ICs) | 300 MA, LOW QUIESCENT CURRENT, ADJUSTABLE OUTPUT, CMOS LINEAR REGULATOR |
Analog Devices AD767KNObsolete | Integrated Circuits (ICs) | IC DAC 12BIT V-OUT 24DIP |
Analog Devices | Integrated Circuits (ICs) | QUAD 12-/10-/8-BIT RAIL-TO-RAIL DACS WITH 10PPM/°C REFERENCE |
| Series | Category | # Parts | Status | Description |
|---|---|---|---|---|
DAC8043A12-Bit Serial Input Multiplying CMOS D/A Converter | Integrated Circuits (ICs) | 2 | Active | Newer Alternatives: NEW DESIGNS:AD5443High Bandwidth CMOS 12-Bit Serial Interface Multiplying D/A ConverterThe DAC8043 is a high accuracy 12-bit CMOS multiplying DAC in a space-saving 8-lead PDIP package. Featuring serial data input, double buffering, and excellent analog performance, the DAC8043 is ideal for applications where PC board space is at a premium. In addition, improved linearity and gain error performance permit reduced parts count through the elimination of trimming components. Separate input clock and load DAC control lines allow full user control of data loading and analog output.The circuit consists of a 12-bit serial-in, parallel-out shift register, a 12-bit DAC register, a 12-bit CMOS DAC, and control logic. Serial data is clocked into the input register on the rising edge of the CLK pulse. When the new data word has been clocked in, it is loaded into the DAC register with theLDinput pin. Data in the DAC register is converted to an output current by the digital-to-analog converter (DAC).The fast interface timing of the DAC8043 may reduce timing design considerations while minimizing microprocessor wait states. For applications requiring an asynchronous clear function or more versatile microprocessor interface logic, refer to theAD5443.Operating from a single 5 V power supply, the DAC8043 is the ideal low power, small size, high performance solution to many application problems. It is available in a PDIP package that is compatible with auto-insertion equipment. There is also a 16-lead SOIC package available.APPLICATIONSAuto calibration systemsProcess control and industrial automationProgrammable amplifiers and attenuatorsDigitally controlled filters |
| Integrated Circuits (ICs) | 2 | Active | ||
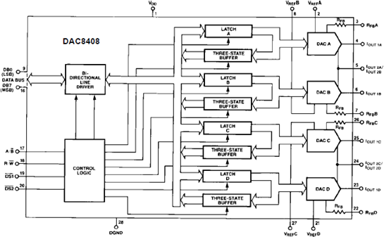
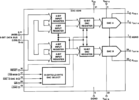
DAC8248Dual 12-Bit (8-Bit Byte) Double-Buffered CMOS D/A Converter | Data Acquisition | 1 | Obsolete | The DAC8248 is a dual 12-bit, double-buffered, CMOS digital-to-analog converter. It has an 8-bit wide input data port that interfaces directly with 8-bit microprocessors. It loads a 12-bit word in two bytes using a single control; it can accept either a least significant byte or most significant byte first. For designers with a 12-bit or 16-bit wide data path, choose theDAC8222orDAC8221.The DAC8248's double-buffered digital inputs allow both DAC's analog output to be updated simultaneously. This is particularly useful in multiple DAC systems where a commonLDACsignal updates all DACs at the same time. A singleRESETpin resets both outputs to zero.The DAC8248's monolithic construction offers excellent DAC-to-DAC matching and tracking over the full operating temperature range. The DAC consists of two thin-film R-2R resistor ladder networks, two 12-bit, two 8-bit, and two 4-bit data registers, and control logic circuitry. Separate reference input and feedback resistors are provided for each DAC. The DAC8248 operates on a single supply from +5 V to +15 V, and it dissipates less than 0.5 mW at +5 V (using zero or VDDlogic levels). The device is packaged in a space-saving 0.3", 24-pin DIP.The DAC-8248 is manufactured with PMI's highly-stable thin-film resistors on an advanced oxide-isolated, silicon-gate, CMOS technology. PMI's improved latch-up resistant design eliminates the need for external protective Schoottky diodes.APPLICATIONSMultichannel Microprocessor-Controlled SystemsRobotics/Process Control/AutomationAutomatic Test EquipmentProgrammable Attenuator, Power Supplies, Window ComparatorsInstrumentation EquipmentBattery Operated Equipment |
| Digital to Analog Converters (DAC) | 4 | Active | ||
DAC8420Quad 12-Bit Serial Voltage Output DAC | Digital to Analog Converters (DAC) | 3 | Active | The DAC8420 is a quad, 12-bit voltage-output DAC with serial digital interface in a 16-lead package. Utilizing BiCMOS technology, this monolithic device features unusually high circuit density and low power consumption. The simple, easy-to-use serial digital input and fully buffered analog voltage outputs require no external components to achieve a specified performance.The 3-wire serial digital input is easily interfaced to micro-processors running at 10 MHz with minimal additional circuitry. Each DAC is addressed individually by a 16-bit serial word consisting of a 12-bit data word and an address header. The user-programmable reset controlCLRforces all four DAC outputs to either zero scale or midscale, asynchronously overriding the current DAC register values. The output voltage range, determined by the inputs VREFHI and VREFLO, is set by the user for positive or negative unipolar or bipolar signal swings within the supplies, allowing considerable design flexibility.The DAC8420 is available in 16-lead PDIP, SOIC, and CERDIP packages. Operation is specified with supplies ranging from +5 V only to ±15 V, with references of +2.5 V to ±10 V, respectively. Power dissipation when operating from ±15 V supplies is less than 255 mW (maximum) and only 35 mW (maximum) with a +5 V supply.ApplicationsSoftware controlled calibrationServo controlsProcess control and automationATE |
DAC8426Quad 8-Bit Voltage Out CMOS DAC Complete with Internal 10V Reference | Integrated Circuits (ICs) | 1 | Active | The DAC8426 is a complete quad voltage output D/A converter with internal reference. This product fits directly into any existing 7226 socket where the user currently has a 10 V external reference. The external reference is no longer necessary. The internal reference of the DAC-8426 is laser-trimmed to ±0.4% offering a 25ppm/°C temperature coefficient and 5mA of external load driving capability.The DAC8426 contains four 8-bit voltage-output CMOS D/A converters on a single chip. A 10 V output bandgap reference sets the latches and interface control logic.One of the four latches, selected by the address inputs, is loaded from the 8-bit data bus input when the write strobe is active low. All digital inputs are TTL/CMOS (5V) compatible. The on-board amplifiers can drive up to 10mA from either a single or dual supply. The on-board reference that is always connected to the internal DACs has 5mA available to drive external devices.Its compact size, low power, and economical cost-per-channel, make the DAC8426 attractive for applications requiring multiple D/A converters without sacrificing circuit-board space. System reliability is also increased due to reduced parts count.Analog Devices' advanced oxide-based, silicon-gate, CMOS process allows the DAC8426's analog and digital circuitry to be manufactured on the same chip. This, coupled with Analog Devices' highly stable thin-film R-2R resistor ladder, aids in matching and temperature tracking between DACs.APPLICATIONSProcess ControlsMultichannel Microprocessor Controlled:System CalibrationOp Amp Offset and Gain AdjustLevel and Threshold Setting |
| Integrated Circuits (ICs) | 3 | Active | ||
DAC8562+5 Volt, Parallel Input Complete 12-Bit DAC | Integrated Circuits (ICs) | 1 | Obsolete | The DAC8562 is a complete, parallel input, 12-bit, voltage output DAC designed to operate from a single +5 volt supply. Built using a CBCMOS process, these monolithic DACs offer the user low cost, and ease-of-use in +5 volt only systems.Included on the chip, in addition to the DAC, is a rail-to-rail amplifier, latch and reference. The reference (REFOUT) is trimmed to 2.5 volts, and the on-chip amplifier gains up the DAC output to 4.095 volts full scale. The user needs only supply a + volt supply.The DAC8562 is coded straight binary. The op amp output swings from 0 to +4.095 volts for a one milivolt per bit resolution, and is capable of driving ±5 mA. Built using low temperature-coefficient silicon-chrome thin-film resistors, excellent linearity error versus digital input code plot.Digital interface is parallel and high speed to the interface to the fastest processors without wait states. The interface is very simple requiring only a singleCEsignal. An asynchronousCLRinput sets the output to zero scale.The DAC8562 is available in tow different 20-pin packages, plastic DIP and SOL-20. Each part is fully specified for operation over -40°C to +85°C, an the full +5 V ±5 % power supply range.For MIL-STD_883 applications, contact your local ADI sales office for the DAC8562/883 data sheet which specifies operation over the -55°C to +125°C temperature range. |
| Integrated Circuits (ICs) | 1 | Obsolete | ||
| Data Acquisition | 1 | Obsolete | ||