A
Analog Devices
| Series | Category | # Parts | Status | Description |
|---|---|---|---|---|
| Part | Spec A | Spec B | Spec C | Spec D | Description |
|---|---|---|---|---|---|
| Series | Category | # Parts | Status | Description |
|---|---|---|---|---|
| Part | Spec A | Spec B | Spec C | Spec D | Description |
|---|---|---|---|---|---|
| Part | Category | Description |
|---|---|---|
Analog Devices ADM6713RAKSZ-REELObsolete | Integrated Circuits (ICs) | IC SUPERVISOR 1 CHANNEL SC70-4 |
Analog Devices | RF and Wireless | RF AMP SINGLE GENERAL PURPOSE RF AMPLIFIER 20GHZ 3.6V 22-PIN DIE TRAY |
Analog Devices | Integrated Circuits (ICs) | LOW NOISE, SWITCHED CAPACITOR REGULATED VOLTAGE INVERTERS |
Analog Devices | Integrated Circuits (ICs) | QUAD 16-BIT/12-BIT ±10V VOUTSOFTSPAN DACS WITH 10PPM/°C MAX REFERENCE |
Analog Devices | Integrated Circuits (ICs) | SERIAL 14-BIT, 3.5MSPS SAMPLING ADC WITH BIPOLAR INPUTS |
Analog Devices | Integrated Circuits (ICs) | ISOSPI ISOLATED COMMUNICATIONS INTERFACE |
Analog Devices | Integrated Circuits (ICs) | 4.5A, 500KHZ STEP-DOWN SWITCHING REGULATOR |
Analog Devices | Integrated Circuits (ICs) | 300 MA, LOW QUIESCENT CURRENT, ADJUSTABLE OUTPUT, CMOS LINEAR REGULATOR |
Analog Devices AD767KNObsolete | Integrated Circuits (ICs) | IC DAC 12BIT V-OUT 24DIP |
Analog Devices | Integrated Circuits (ICs) | QUAD 12-/10-/8-BIT RAIL-TO-RAIL DACS WITH 10PPM/°C REFERENCE |
| Series | Category | # Parts | Status | Description |
|---|---|---|---|---|
ADUC7019Precision Analog Microcontroller, 12-Bit Analog I/O, ARM7TDMI®MCU | Embedded | 1 | Active | The ADuC7019 /ADuC7020/ADuC7021/ADuC7022/ADuC7024/ADuC7025/ADuC7026/ADuC7027/ADuC7028/ADuC7029are fully integrated, 1 MSPS, 12-bit data acquisition systems incorporating high performance multichannel ADCs, 16-bit/32-bit MCUs, and Flash®/EE memory on a single chip.The ADC consists of up to 12 single-ended inputs. An additional four inputs are available but are multiplexed with the four DAC output pins. The four DAC outputs are available only on certain models (ADuC7020, ADuC7026, ADuC7028, and ADuC7029). However, in many cases where the DAC outputs are not present, these pins can still be used as additional ADC inputs, giving a maximum of 16 ADC input channels. The ADC can operate in single-ended or differential input mode. The ADC input voltage is 0 V to VREF. A low drift band gap reference, temperature sensor, and voltage comparator complete the ADC peripheral set.Depending on the part model, up to four buffered voltage output DACs are available on-chip. The DAC output range is programmable to one of three voltage ranges.The devices operate from an on-chip oscillator and a PLL generating an internal high frequency clock of 41.78 MHz (UCLK). This clock is routed through a programmable clock divider from which the MCU core clock operating frequency is generated. The microcontroller core is an ARM7TDMI®, 16-bit/32-bit RISC machine, which offers up to 41 MIPS peak performance. Eight kilobytes of SRAM and 62 kilobytes of nonvolatile Flash/EE memory are provided on-chip. The ARM7TDMI core views all memory and registers as a single linear array.On-chip factory firmware supports in-circuit serial download via the UART or I2C serial interface port; nonintrusive emulation is also supported via the JTAG interface. These features are incorporated into a low cost QuickStart™development system supporting this MicroConverter®family.The parts operate from 2.7 V to 3.6 V and are specified over an industrial temperature range of −40°C to +125°C. When operating at 41.78 MHz, the power dissipation is typically 120 mW. The ADuC7019 / ADuC7020 / ADuC7021 / ADuC7022 / ADuC7024 / ADuC7025 / ADuC7026 / ADuC7027 / ADuC7028 / ADuC7029 are available in a variety of memory models and packages (see Ordering Guide).APPLICATIONSIndustrial control and automation systemsSmart sensors, precision instrumentationBase station systems, optical networking |
ADUC7020Precision Analog Microcontroller, 12-Bit Analog I/O, ARM7TDMI®MCU | Embedded MCU, DSP Evaluation Boards | 2 | Active | TheADuC7019/ADuC7020/ ADuC7021 /ADuC7022/ADuC7024/ADuC7025/ADuC7026/ADuC7027/ADuC7028/ADuC7029are fully integrated, 1 MSPS, 12-bit data acquisition systems incorporating high performance multichannel ADCs, 16-bit/32-bit MCUs, and Flash®/EE memory on a single chip.The ADC consists of up to 12 single-ended inputs. An additional four inputs are available but are multiplexed with the four DAC output pins. The four DAC outputs are available only on certain models (ADuC7020, ADuC7026, ADuC7028, and ADuC7029). However, in many cases where the DAC outputs are not present, these pins can still be used as additional ADC inputs, giving a maximum of 16 ADC input channels. The ADC can operate in single-ended or differential input mode. The ADC input voltage is 0 V to VREF. A low drift band gap reference, temperature sensor, and voltage comparator complete the ADC peripheral set.Depending on the part model, up to four buffered voltage output DACs are available on-chip. The DAC output range is programmable to one of three voltage ranges.The devices operate from an on-chip oscillator and a PLL generating an internal high frequency clock of 41.78 MHz (UCLK). This clock is routed through a programmable clock divider from which the MCU core clock operating frequency is generated. The microcontroller core is an ARM7TDMI®, 16-bit/32-bit RISC machine, which offers up to 41 MIPS peak performance. Eight kilobytes of SRAM and 62 kilobytes of nonvolatile Flash/EE memory are provided on-chip. The ARM7TDMI core views all memory and registers as a single linear array.On-chip factory firmware supports in-circuit serial download via the UART or I2C serial interface port; nonintrusive emulation is also supported via the JTAG interface. These features are incorporated into a low cost QuickStart™development system supporting this MicroConverter®family.The parts operate from 2.7 V to 3.6 V and are specified over an industrial temperature range of −40°C to +125°C. When operating at 41.78 MHz, the power dissipation is typically 120 mW. The ADuC7019 / ADuC7020 / ADuC7021 / ADuC7022 / ADuC7024 / ADuC7025 / ADuC7026 / ADuC7027 / ADuC7028 / ADuC7029 are available in a variety of memory models and packages (see Ordering Guide).APPLICATIONSIndustrial control and automation systemsSmart sensors, precision instrumentationBase station systems, optical networking |
ADUC7021Precision Analog Microcontroller, 12-Bit Analog I/O, ARM7TDMI®MCU | Embedded | 3 | Active | TheADuC7019/ADuC7020/ ADuC7021 /ADuC7022/ADuC7024/ADuC7025/ADuC7026/ADuC7027/ADuC7028/ADuC7029are fully integrated, 1 MSPS, 12-bit data acquisition systems incorporating high performance multichannel ADCs, 16-bit/32-bit MCUs, and Flash®/EE memory on a single chip.The ADC consists of up to 12 single-ended inputs. An additional four inputs are available but are multiplexed with the four DAC output pins. The four DAC outputs are available only on certain models (ADuC7020, ADuC7026, ADuC7028, and ADuC7029). However, in many cases where the DAC outputs are not present, these pins can still be used as additional ADC inputs, giving a maximum of 16 ADC input channels. The ADC can operate in single-ended or differential input mode. The ADC input voltage is 0 V to VREF. A low drift band gap reference, temperature sensor, and voltage comparator complete the ADC peripheral set.Depending on the part model, up to four buffered voltage output DACs are available on-chip. The DAC output range is programmable to one of three voltage ranges.The devices operate from an on-chip oscillator and a PLL generating an internal high frequency clock of 41.78 MHz (UCLK). This clock is routed through a programmable clock divider from which the MCU core clock operating frequency is generated. The microcontroller core is an ARM7TDMI®, 16-bit/32-bit RISC machine, which offers up to 41 MIPS peak performance. Eight kilobytes of SRAM and 62 kilobytes of nonvolatile Flash/EE memory are provided on-chip. The ARM7TDMI core views all memory and registers as a single linear array.On-chip factory firmware supports in-circuit serial download via the UART or I2 C serial interface port; nonintrusive emulation is also supported via the JTAG interface. These features are incorporated into a low cost QuickStart™development system supporting this MicroConverter®family.The parts operate from 2.7 V to 3.6 V and are specified over an industrial temperature range of −40°C to +125°C. When operating at 41.78 MHz, the power dissipation is typically 120 mW. The ADuC7019 / ADuC7020 / ADuC7021 / ADuC7022 / ADuC7024 / ADuC7025 / ADuC7026 / ADuC7027 / ADuC7028 / ADuC7029 are available in a variety of memory models and packages (see Ordering Guide).APPLICATIONSIndustrial control and automation systemsSmart sensors, precision instrumentationBase station systems, optical networking |
ADUC7022Precision Analog Microcontroller, 12-Bit Analog I/O, ARM7TDMI®MCU | Integrated Circuits (ICs) | 1 | Active | TheADuC7019/ADuC7020/ ADuC7021 /ADuC7022/ADuC7024/ADuC7025/ADuC7026/ADuC7027/ADuC7028/ADuC7029are fully integrated, 1 MSPS, 12-bit data acquisition systems incorporating high performance multichannel ADCs, 16-bit/32-bit MCUs, and Flash®/EE memory on a single chip.The ADC consists of up to 12 single-ended inputs. An additional four inputs are available but are multiplexed with the four DAC output pins. The four DAC outputs are available only on certain models (ADuC7020, ADuC7026, ADuC7028, and ADuC7029). However, in many cases where the DAC outputs are not present, these pins can still be used as additional ADC inputs, giving a maximum of 16 ADC input channels. The ADC can operate in single-ended or differential input mode. The ADC input voltage is 0 V to VREF. A low drift band gap reference, temperature sensor, and voltage comparator complete the ADC peripheral set.Depending on the part model, up to four buffered voltage output DACs are available on-chip. The DAC output range is programmable to one of three voltage ranges.The devices operate from an on-chip oscillator and a PLL generating an internal high frequency clock of 41.78 MHz (UCLK). This clock is routed through a programmable clock divider from which the MCU core clock operating frequency is generated. The microcontroller core is an ARM7TDMI®, 16-bit/32-bit RISC machine, which offers up to 41 MIPS peak performance. Eight kilobytes of SRAM and 62 kilobytes of nonvolatile Flash/EE memory are provided on-chip. The ARM7TDMI core views all memory and registers as a single linear array.On-chip factory firmware supports in-circuit serial download via the UART or I2 C serial interface port; nonintrusive emulation is also supported via the JTAG interface. These features are incorporated into a low cost QuickStart™development system supporting this MicroConverter®family.The parts operate from 2.7 V to 3.6 V and are specified over an industrial temperature range of −40°C to +125°C. When operating at 41.78 MHz, the power dissipation is typically 120 mW. The ADuC7019 / ADuC7020 / ADuC7021 / ADuC7022 / ADuC7024 / ADuC7025 / ADuC7026 / ADuC7027 / ADuC7028 / ADuC7029 are available in a variety of memory models and packages (see Ordering Guide).APPLICATIONSIndustrial control and automation systemsSmart sensors, precision instrumentationBase station systems, optical networking |
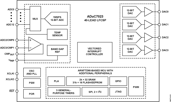
ADUC7023Precision Analog Microcontroller, 12-Bit Analog I/O, ARM7TDMI MCU with Enhanced IRQ Handler | Evaluation Boards | 4 | Active | The ADuC7023 is a fully integrated, 1 MSPS, 12-bit data acquisition system, incorporating high performance multichannel ADCs, 16-bit/32-bit MCUs, and Flash/EE memory on a single chip.The ADC consists of up to 12 single-ended inputs. An additional four inputs are available but are multiplexed with the four DAC output pins. The ADC can operate in single-ended or differential input modes. The ADC input voltage is 0 V to VREF. A low drift band gap reference, temperature sensor, and voltage comparator complete the ADC peripheral set.The DAC output range is programmable to one of two voltage ranges. The DAC outputs have an enhanced feature of being able to retain their output voltage during a watchdog or software reset sequence.The devices operate from an on-chip oscillator and a PLL, generating an internal high frequency clock of 41.78 MHz. This clock is routed through a programmable clock divider from which the MCU core clock operating frequency is generated. The microcontroller core is an ARM7TDMI®, 16-bit/32-bit RISC machine that offers up to 41 MIPS peak performance. Eight kilobytes of SRAM and 62 kilobytes of nonvolatile Flash/EE memory are provided on chip. The ARM7TDMI core views all memory and registers as a single linear array.The ADuC7023 contains an advanced interrupt controller. The vectored interrupt controller (VIC) allows every interrupt to be assigned a priority level. It also supports nested interrupts to a maximum level of eight per IRQ and FIQ. When IRQ and FIQ interrupt sources are combined, a total of 16 nested interrupt levels are supported.On-chip factory firmware supports in-circuit download via the I2C serial interface port, and non-intrusive emulation is supported via the JTAG interface. These features are incorporated into a low cost QuickStart™ development system supporting this MicroConverter®family. The part contains a 16-bit PWM with five output signals.For communication purposes, the part contains 2 × I2C channels that can be individually configured for master or slave mode. An SPI interface supporting both master and slave modes is also provided.The parts operate from 2.7 V to 3.6 V and are specified over an industrial temperature range of −40°C to +125°C. The ADuC7023 is available in either a 32-lead or 40-lead LFCSP package. A 36-ball wafer level CSP package (WLCSP) is also available.ApplicationsOptical networkingIndustrial control and automation systemsSmart sensors, precision instrumentationBase station systems |
| Embedded | 4 | Active | ||
| Integrated Circuits (ICs) | 2 | Active | ||
| Microcontrollers | 1 | Active | ||
| Development Boards, Kits, Programmers | 1 | Active | ||
ADUC7060Low-Power, Precision Analog Microcontroller, Dual Σ-Δ ADCs, Flash/EE, ARM7TDMI | Integrated Circuits (ICs) | 2 | Active | The ADuC7060/ADuC7061 are fully integrated, 8 kSPS, 24-bit data acquisition systems incorporating high performance multi-channel sigma-delta (Σ-Δ) analog-to-digital converters (ADCs), 16-bit/ 32-bit ARM7TDMI®MCU, and Flash/EE memory on a single chip.The ADCs consists of a 5-channel primary ADC and up to an 8-channel auxiliary ADC. The ADCs operate in single-ended or differential input modes. A single channel buffered voltage output DAC is available on-chip. The DAC output range is programmable to one of two voltage ranges.The devices operate from an on-chip oscillator and a PLL gene-rating an internal high frequency clock up to 10.24 MHz. The microcontroller core is an ARM7TDMI, 16-bit/32-bit RISC machine offering up to 10 MIPS peak performance. 4 kB of SRAM and 32 kB of nonvolatile Flash/EE memory are provided on-chip. The ARM7TDMI core views all memory and registers as a single linear array.The ADuC7060/ADuC7061 contain four timers. Timer 1 is wake-up timer with the ability to bring the part out of power saving mode. Timer 2 may be configured as a watchdog timer. A 16-bit PWM with six output channels is also provided.The ADuC7060/ADuC7061 contain an advanced interrupt controller. The vectored interrupt controller (VIC) allows every interrupt to be assigned a priority level. It also supports nested interrupts to a maximum level of eight per IRQ and FIQ. When IRQ and FIQ interrupt sources are combined, a total of 16 nested interrupt levels are supported. On-chip factory firmware supports in-circuit serial download via the UART serial interface ports and nonintrusive emulation via the JTAG interface.The parts operate from 2.375 V to 2.625 V over an industrial temperature range of −40°C to +125°C.APPLICATIONSIndustrial automation and process controlIntelligent, precision sensing systems, 4 mA to 20 mA loop-based smart sensors |