A
Analog Devices
| Series | Category | # Parts | Status | Description |
|---|---|---|---|---|
| Part | Spec A | Spec B | Spec C | Spec D | Description |
|---|---|---|---|---|---|
| Series | Category | # Parts | Status | Description |
|---|---|---|---|---|
| Part | Spec A | Spec B | Spec C | Spec D | Description |
|---|---|---|---|---|---|
| Series | Category | # Parts | Status | Description |
|---|---|---|---|---|
| PMIC | 15 | Active | ||
ADM202EEMI/EMC Compliant, ±15 kV ESD Protected, RS-232 Line Drivers/Receivers | Integrated Circuits (ICs) | 18 | Active | The ADM202E andADM1181Aare robust, high speed, 2- channel RS232/V.28 interface devices that operate from a single +5 V power supply. Both products are suitable for operation in harsh electrical environments and are compliant with the EU directive on EMC(89/336/EEC). Both the level of electromagnetic emissions and immunity are in compliance. EM immunity includes ESD protection in excess of ±15 kV on all I/O lines, Fast Transient burst protection (1000-4-4) and Radiated Immunity (1000-4-3). EM emissions include radiated and conducted emissions as required by Information Technology Equipment EN55022, CISPR22.The ADM202E and ADM1181A conform to the EIA-232E and CCITT V.28 specifications and operate at data rates up to 230 kbps.Four external 0.1 µF charge pump capacitors are used for the voltage doubler/inverter permitting operation from a single +5 V supply.The ADM202E provides a robust pin-compatible upgrade for existing ADM202, ADM232L or MAX202E/MAX232E sockets. It is available in a 16-pin DIP, wide and narrow SO and also a space saving TSSOP package. The TSSOP package gives a 44% space saving over SOIC.The ADM1181A provides a robust pin compatible upgrade for the LTC1181A, and it is available in 16-pin DIP and 16-lead SO packages. |
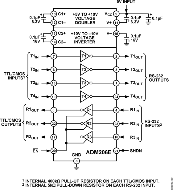
ADM206EEMI/EMC Compliant, 615 kV ESD Protected, RS-232 Line Driver/Receiver in a 24-Pin SO Package | Drivers, Receivers, Transceivers | 10 | Active | The ADM2xxE is a family of robust RS-232 and V.28 interface devices which operates from a single +5 V power supply. These products are suitable for operation in harsh electrical environments and are compliant with the EU directive on EMC (89/336/ EEC). Both the level of emissions and immunity are in compliance. EM immunity includes ESD protection in excess of ±15 kV on all I-O lines (1000-4-2), Fast Transient Burst protection (1000-4-4) and Radiated Immunity (1000-4-3). EM emissions include radiated and conducted emissions as required by Information Technology Equipment EN55022, CISPR22.All devices fully conform to the EIA-232E and CCITT V.28 specifications and operate at data rates up to 230 kbps.Shutdown and Enable control pins are provided on some of the products.The shutdown function on the ADM211E disables the charge pump and all transmitters and receivers. On the ADM213E the charge pump, all transmitters, and three of the five receivers are disabled. The remaining two receivers remain active thereby allowing monitoring of peripheral devices. This feature allows the device to be shut down until a peripheral device begins communication. The active receivers can alert the processor which can then take the ADM213E out of the shutdown mode.Operating from a single +5 V supply, four external 0.1 µF capacitors are required.The ADM206E is available in a 24-pin SO package. The ADM207E and ADM208E are available in 24-pin DIP, SO, SSOP and TSSOP packages. The ADM211E and ADM213E are available in 28-pin SO, SSOP and TSSOP packages.All products are backward compatible with earlier ADM2xx products facilitating easy upgrading of older designs. |
ADM207EEMI/EMC Compliant, ±15kV Protected, 230kBPS, RS-232 Transceiver with 5 Drivers & 3 Receivers | Interface | 13 | Active | The ADM2xxE is a family of robust RS-232 and V.28 interface devices which operates from a single +5 V power supply. These products are suitable for operation in harsh electrical environments and are compliant with the EU directive on EMC (89/336/ EEC). Both the level of emissions and immunity are in compliance. EM immunity includes ESD protection in excess of ±15 kV on all I-O lines (1000-4-2), Fast Transient Burst protection (1000-4-4) and Radiated Immunity (1000-4-3). EM emissions include radiated and conducted emissions as required by Information Technology Equipment EN55022, CISPR22.All devices fully conform to the EIA-232E and CCITT V.28 specifications and operate at data rates up to 230 kbps.Shutdown and Enable control pins are provided on some of the products.The shutdown function on theADM211Edisables the charge pump and all transmitters and receivers. On theADM213Ethe charge pump, all transmitters, and three of the five receivers are disabled. The remaining two receivers remain active thereby allowing monitoring of peripheral devices. This feature allows the device to be shut down until a peripheral device begins communication. The active receivers can alert the processor which can then take the ADM213E out of the shutdown mode.Operating from a single +5 V supply, four external 0.1 µF capacitors are required.The ADM206E is available in a 24-pin SO package. TheADM207EandADM208Eare available in 24-pin DIP, SO, SSOP and TSSOP packages. The ADM211E and ADM213E are available in 28-pin SO, SSOP and TSSOP packages.All products are backward compatible with earlier ADM2xx products facilitating easy upgrading of older designs.APPLICATIONSLaptop computersNotebook computersPrintersPeripheralsModems |
ADM208EEMI/EMC Compliant, ±15kV Protected, RS-232 230kBPS Transceiver with 4 Drivers & 4 Receivers | Drivers, Receivers, Transceivers | 10 | Active | The ADM2xxE is a family of robust RS-232 and V.28 interface devices which operates from a single +5 V power supply. These products are suitable for operation in harsh electrical environments and are compliant with the EU directive on EMC (89/336/ EEC). Both the level of emissions and immunity are in compliance. EM immunity includes ESD protection in excess of ±15 kV on all I-O lines (1000-4-2), Fast Transient Burst protection (1000-4-4) and Radiated Immunity (1000-4-3). EM emissions include radiated and conducted emissions as required by Information Technology Equipment EN55022, CISPR22.All devices fully conform to the EIA-232E and CCITT V.28 specifications and operate at data rates up to 230 kbps.Shutdown and Enable control pins are provided on some of the products.The shutdown function on the ADM211E disables the charge pump and all transmitters and receivers. On the ADM213E the charge pump, all transmitters, and three of the five receivers are disabled. The remaining two receivers remain active thereby allowing monitoring of peripheral devices. This feature allows the device to be shut down until a peripheral device begins communication. The active receivers can alert the processor which can then take the ADM213E out of the shutdown mode.Operating from a single +5 V supply, four external 0.1 µF capacitors are required.TheADM206Eis available in a 24-pin SO package. The ADM207E and ADM208E are available in 24-pin DIP, SO, SSOP and TSSOP packages. TheADM211EandADM213Eare available in 28-pin SO, SSOP and TSSOP packages.All products are backward compatible with earlier ADM2xx products facilitating easy upgrading of older designs. |
| Drivers, Receivers, Transceivers | 2 | Obsolete | ||
ADM211EEMI/EMC Compliant, ±15kV Protected, RS-232 230kBPS Transceiver with 4 Drivers, 5 Receivers and Shutdown and Enable Pins | Integrated Circuits (ICs) | 9 | Active | The ADM2xxE is a family of robust RS-232 and V.28 interface devices which operates from a single +5 V power supply. These products are suitable for operation in harsh electrical environments and are compliant with the EU directive on EMC (89/336/ EEC). Both the level of emissions and immunity are in compliance. EM immunity includes ESD protection in excess of ±15 kV on all I-O lines (1000-4-2), Fast Transient Burst protection (1000-4-4) and Radiated Immunity (1000-4-3). EM emissions include radiated and conducted emissions as required by Information Technology Equipment EN55022, CISPR22.All devices fully conform to the EIA-232E and CCITT V.28 specifications and operate at data rates up to 230 kbps.Shutdown and Enable control pins are provided on some of the products.The shutdown function on the ADM211E disables the charge pump and all transmitters and receivers. On theADM213Ethe charge pump, all transmitters, and three of the five receivers are disabled. The remaining two receivers remain active thereby allowing monitoring of peripheral devices. This feature allows the device to be shut down until a peripheral device begins communication. The active receivers can alert the processor which can then take the ADM213E out of the shutdown mode.Operating from a single +5 V supply, four external 0.1 µF capacitors are required.TheADM206Eis available in a 24-pin SO package. TheADM207EandADM208Eare available in 24-pin DIP, SO, SSOP and TSSOP packages. The ADM211E and ADM213E are available in 28-pin SO, SSOP and TSSOP packages.All products are backward compatible with earlier ADM2xx products facilitating easy upgrading of older designs. |
| Drivers, Receivers, Transceivers | 7 | Active | ||
ADM2209EWorld’s Smallest Dual-Port 6 Tx/10 RxRS-232 | Drivers, Receivers, Transceivers | 4 | Active | The ADM2209E is a complete, dual RS-232 port on a single chip, containing six drivers and ten receivers, and fully meeting EIA-232 and V.28 specifications. The device features an on-board dc-to-dc converter to generate a -12V power rail, eliminating the need for a negative power supply.The ADM2209E is suitable for operation in harsh electrical environments and is compliant with the EU directive on EMC (89/336/EEC). Both the level of emissions and immunity are in compliance. EM immunity includes ESD protection in excess of ±15 kV on all I-O lines (1000-4-2), Electrical Fast Transient protection (1000-4-4) and Radiated Immunity (1000-4-3). EM emissions include radiated and conducted emissions as required by Information Technology Equipment EN55022, CISPR22.The ADM2209E conforms to the EIA-232E and CCITT V.28 specifications and operates at data rates up to 460 kbps. In standby mode, one receiver on each port (R5) remains active to allow monitoring of peripheral devices while the rest of the system is in power-saving mode. This feature allows the ADM2209E to wake up the system when a peripheral device begins communication.The ADM2209E is available in a 38-lead TSSOP package. |
| Interface | 5 | Active | ||
| Part | Category | Description |
|---|---|---|
Analog Devices ADM6713RAKSZ-REELObsolete | Integrated Circuits (ICs) | IC SUPERVISOR 1 CHANNEL SC70-4 |
Analog Devices | RF and Wireless | RF AMP SINGLE GENERAL PURPOSE RF AMPLIFIER 20GHZ 3.6V 22-PIN DIE TRAY |
Analog Devices | Integrated Circuits (ICs) | LOW NOISE, SWITCHED CAPACITOR REGULATED VOLTAGE INVERTERS |
Analog Devices | Integrated Circuits (ICs) | QUAD 16-BIT/12-BIT ±10V VOUTSOFTSPAN DACS WITH 10PPM/°C MAX REFERENCE |
Analog Devices | Integrated Circuits (ICs) | SERIAL 14-BIT, 3.5MSPS SAMPLING ADC WITH BIPOLAR INPUTS |
Analog Devices | Integrated Circuits (ICs) | ISOSPI ISOLATED COMMUNICATIONS INTERFACE |
Analog Devices | Integrated Circuits (ICs) | 4.5A, 500KHZ STEP-DOWN SWITCHING REGULATOR |
Analog Devices | Integrated Circuits (ICs) | 300 MA, LOW QUIESCENT CURRENT, ADJUSTABLE OUTPUT, CMOS LINEAR REGULATOR |
Analog Devices AD767KNObsolete | Integrated Circuits (ICs) | IC DAC 12BIT V-OUT 24DIP |
Analog Devices | Integrated Circuits (ICs) | QUAD 12-/10-/8-BIT RAIL-TO-RAIL DACS WITH 10PPM/°C REFERENCE |