ADAU1463Sigma DSP, Digital Audio Processor with Increased I2S Flexibility | Integrated Circuits (ICs) | 3 | Active | The ADAU1463/ADAU1467are automotive qualified audio processors that far exceed the digital signal processing capabilities of earlier SigmaDSP®devices. They are pin and register compatible with each other, as well as with theADAU1450/ADAU1451/ADAU1452SigmaDSP®processors. The restructured hardware architecture is optimized for efficient audio processing. The audio processing algorithms support a seamless combination of stream processing (sample-by-sample), multirate processing, and block processing paradigms. The SigmaStudio®graphical programming tool enables the creation of signal processing flows that are interactive, intuitive, and powerful. The enhanced digital signal processor (DSP) core architecture enables some types of audio processing algorithms to be executed using significantly fewer instructions than were required on previous SigmaDSP generations, leading to vastly improved code efficiency.The 1.2 V, 32-bit DSP core can run at frequencies of up to 294.912 MHz and execute up to 6144 single instruction, multiple data (SIMD) instructions per sample at the standard sample rate of 48 kHz. Powerful clock generator hardware, including a flexible phase-locked loop (PLL) with multiple fractional integer outputs, supports all industry standard audio sample rates. Nonstandard rates over a wide range can generate up to 15 sample rates simultaneously. These clock generators, along with the on-board asynchronous sample rate converters (ASRCs) and a flexible hardware audio routing matrix, make the ADAU1463/ADAU1467 ideal audio hubs that greatly simplify the design of complex multirate audio systems.The ADAU1463/ADAU1467 have four input serial ports and four output serial ports. Each device has an asynchronous clock domain capable of operating as either a bit clock and frame sync master or slave. Each of the serial ports supports multiple data lines. The eight SDATAIOx pins each can be associated with any of the four input or four output serial ports. The use of assignable data pins allows a serial port to transmit or receive additional channels of audio data using a single bit clock and frame clock. Each of the supplemental data pins can carry from two to eight channels of serial audio. This flexible configuration provides more channels of audio input/output (I/O) without the need to run serial ports at high speed, and enables systems with additional serial audio peripherals. These expanded serial audio ports, along with the clock generators, the on-board asynchronous sample rate converters (ASRCs), and a flexible hardware audio routing matrix make the ADAU1463/ ADAU1467 ideal audio hubs that greatly simplify the design of complex, multirate audio systems.The ADAU1463/ADAU1467 interface with a wide range of analog-to-digital converters (ADCs), digital-to-analog converters (DACs), digital audio devices, amplifiers, and control circuitry with highly configurable serial ports, I2C, serial peripheral interface (SPI), Sony/Philips Digital Interconnect Format (S/PDIF) interfaces, and multipurpose I/O pins. Dedicated decimation filters can decode the pulse density modulation (PDM) output of up to four MEMS microphones.Independent slave and master I2C/SPI control ports allow the ADAU1463/ADAU1467 to be programmed and controlled by an external master device such as a microcontroller, and to program and control slave peripherals directly. Self boot functionality and the master control port enable complex standalone systems.Note that throughout this data sheet, multifunction pins, such as SDATAIO4/MP20, are referred to either by the entire pin name or by a single function of the pin, for example, MP20, when only that function is relevant.ApplicationsAutomotive audio processingHead unitsDistributed amplifiersRear seat entertainment systemsTrunk amplifiersCommercial and professional audio processing |
ADAU1466SigmaDSP Compact Digital Audio Processor with Extended Internal Memory | Development Boards, Kits, Programmers | 3 | Active | TheADAU1462/ADAU1466 are automotive qualified audio processors that far exceed the digital signal processing capabilities of earlier SigmaDSP®devices. They are pin and register compatible with each other, as well as with the ADAU1450/ADAU1451/ADAU1452 SigmaDSP processors. The restructured hardware architecture is optimized for efficient audio processing. The audio processing algorithms support a seamless combination of stream processing (sample by sample), multirate processing, and block processing paradigms. The SigmaStudio™ graphical programming tool enables the creation of signal processing flows that are interactive, intuitive, and powerful. The enhanced digital signal processor (DSP) core architecture enables some types of audio processing algorithms to be executed using significantly fewer instructions than were required on previous SigmaDSP generations, leading to vastly improved code efficiency.The 1.2 V, 32-bit DSP core can run at frequencies of up to 294.912 MHz and execute up to 6144 SIMD instructions per sample at the standard sample rate of 48 kHz. Powerful clock generator hardware, including a flexible phase-locked loop (PLL) with multiple fractional integer outputs, supports all industry standard audio sample rates. Nonstandard rates over a wide range can generate up to 15 sample rates simultaneously. These clock generators, along with the on board asynchronous sample rate converters (ASRCs) and a flexible hardware audio routing matrix, make the ADAU1462/ADAU1466 ideal audio hubs that greatly simplify the design of complex multirate audio systems.The ADAU1462/ADAU1466 interface with a wide range of analog-to-digital converters (ADCs), digital-to-analog converters (DACs), digital audio devices, amplifiers, and control circuitry with highly configurable serial ports, I2C, serial peripheral interface (SPI), Sony/Philips Digital Interconnect Format (S/PDIF) interfaces, and multipurpose input/output (I/O) pins. Dedicated decimation filters can decode the pulse code modulation (PDM) output of up to four MEMS microphones.Independent slave and master I2C/SPI control ports allow the ADAU1462/ADAU1466 to be programmed and controlled by an external master device such as a microcontroller, and to program and control slave peripherals directly. Self boot functionality and the master control port enable complex standalone systems.The power efficient DSP core can execute at high computational loads while consuming only a few hundred milliwatts (mW) in typical conditions. This relatively low power consumption and small footprint make the ADAU1462/ADAU1466 ideal replacements for large, general-purpose DSPs that consume more power at the same processing load.ApplicationsAutomotive audio processingHead unitsDistributed processorsRear seat entertainment systemsTrunk amplifiersCommercial and professional audio processing |
| Integrated Circuits (ICs) | 3 | Active | |
| Integrated Circuits (ICs) | 3 | Obsolete | |
| Linear | 2 | Obsolete | |
| Amplifiers | 2 | LTB | |
| Evaluation and Demonstration Boards and Kits | 1 | Active | |
ADAU1702SigmaDSP®28-/56-Bit Audio Processor with Two ADCs and Four DACs | DSP (Digital Signal Processors) | 2 | Active | The ADAU1702 is a complete single-chip audio system with a 28-/56-bit audio DSP, ADCs, DACs, and microcontroller-like control interfaces. Signal processing includes equalization, cross-over, bass enhancement, multiband dynamics processing, delay compensation, speaker compensation, and stereo image widening. This processing can be used to compensate for real-world limitations of speakers, amplifiers, and listening environments, providing dramatic improvements in perceived audio quality.Its signal processing is comparable to that found in high end studio equipment. Most processing is done in full 56-bit, double precision mode, resulting in very good low level signal performance. The ADAU1702 is a fully programmable DSP. The easy to use SigmaStudio™software allows the user to graphically configure a custom signal processing flow using blocks such as biquad filters, dynamics processors, level controls, and GPIO interface controls.ADAU1702 programs can be loaded on power-up either from a serial EEPROM through its own self-boot mechanism or from an external microcontroller. On power-down, the current state of the parameters can be written back to the EEPROM from the ADAU1702 to be recalled the next time the program is run.Two Σ-Δ ADCs and four Σ-Δ DACs provide a 98.5 dB analog input to analog output dynamic. Each ADC has a THD + N of −83 dB, and each DAC has a THD + N of −90 dB. Digital input and output ports allow a glueless connection to additional ADCs and DACs. The ADAU1702 communicates through an I2C bus or a 4-wire SPI port.APPLICATIONSMultimedia speaker systemsMP3 player speaker docksAutomotive head unitsMinicomponent stereosDigital televisionsStudio monitorsSpeaker crossoversMusical instrument effects processorsIn-seat sound systems (aircraft/motor coaches) |
ADAU1761SigmaDSP Stereo, Low Power, 96 kHz, 24-Bit Audio Codec with Integrated PLL | Development Boards, Kits, Programmers | 2 | Active | The ADAU1761 is a low power, stereo audio codec with integrated digital audio processing that supports stereo 48 kHz record and playback at 14 mW from a 1.8 V analog supply. The stereo audio ADCs and DACs support sample rates from 8 kHz to 96 kHz as well as a digital volume control.The SigmaDSP®core features 28-bit processing (56-bit double precision). The processor allows system designers to compensate for the real-world limitations of microphones, speakers, amplifiers, and listening environments, resulting in a dramatic improvement in the perceived audio quality through equalization, multiband compression, limiting, and third-party branded algorithms.The SigmaStudio™graphical development tool is used to program the ADAU1761. This software includes audio processing blocks such as filters, dynamics processors, mixers, and low level DSP functions for fast development of custom signal flows.The record path includes an integrated microphone bias circuit and six inputs. The inputs can be mixed and muxed before the ADC, or they can be configured to bypass the ADC. The ADAU1761 includes a stereo digital microphone input.The ADAU1761 includes five high power output drivers (two differential and three single-ended), supporting stereo head-phones, an earpiece, or other output transducer. AC-coupled or capless configurations are supported. Individual fine level controls are supported on all analog outputs. The output mixer stage allows for flexible routing of audio.APPLICATIONSSmartphones/multimedia phonesDigital still cameras/digital video camerasPortable media players/portable audio playersPhone accessories products |
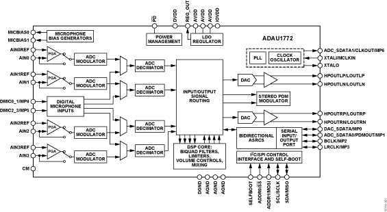
ADAU17724 ADC, 2 DAC Low-Power Codec with Audio Processor | Interface | 2 | Active | The ADAU1772 is a codec with four inputs and two outputs that incorporates a digital processing engine to perform filtering, level control, signal level monitoring, and mixing. The path from the analog input to the DSP core to the analog output is optimized for low latency and is ideal for noise cancelling headsets. With the addition of just a few passive components, a crystal, and an EEPROM for booting, the ADAU1772 provides a complete headset solution.APPLICATIONSNoise cancelling headsets, headsets, and headphonesBlueTooth ANC headsets, headsets, and headphonesPersonal navigation devicesDigital still and video cameras |