A
Analog Devices Inc./Maxim Integrated
| Series | Category | # Parts | Status | Description |
|---|---|---|---|---|
| Part | Spec A | Spec B | Spec C | Spec D | Description |
|---|---|---|---|---|---|
| Series | Category | # Parts | Status | Description |
|---|---|---|---|---|
| Part | Spec A | Spec B | Spec C | Spec D | Description |
|---|---|---|---|---|---|
| Part | Category | Description |
|---|---|---|
Analog Devices Inc./Maxim Integrated LTC1879EGN#TRUnknown | Integrated Circuits (ICs) | IC REG BUCK ADJ 1.2A 16SSOP |
Analog Devices Inc./Maxim Integrated LTC2208CUP#TRUnknown | Integrated Circuits (ICs) | IC ADC 16BIT 130MSPS 64-QFN |
Analog Devices Inc./Maxim Integrated ADP2108ACBZ-1.1-R7Obsolete | Integrated Circuits (ICs) | IC REG BUCK 1.1V 600MA 5WLCSP |
Analog Devices Inc./Maxim Integrated EV1HMC832ALP6GObsolete | Development Boards Kits Programmers | EVAL BOARD FOR HMC832ALP6GE |
Analog Devices Inc./Maxim Integrated LTC488ISWUnknown | Integrated Circuits (ICs) | IC LINE RCVR RS485 QUAD 16-SOIC |
Analog Devices Inc./Maxim Integrated LTC6946IUFD-2Obsolete | Integrated Circuits (ICs) | IC CLK/FREQ SYNTH 28QFN |
Analog Devices Inc./Maxim Integrated MAX5556ESA+TObsolete | Integrated Circuits (ICs) | IC DAC/AUDIO 16BIT 50K 8SOIC |
Analog Devices Inc./Maxim Integrated EVAL-FLTR-LD-1RZUnknown | Unclassified | EVAL BRD FOR AD800 SERIES |
Analog Devices Inc./Maxim Integrated | Development Boards Kits Programmers | BOARD EVAL FOR AD9963 |
Analog Devices Inc./Maxim Integrated LTC1296CCSW#TRUnknown | Integrated Circuits (ICs) | IC DATA ACQ SYS 12BIT 5V 20SOIC |
| Series | Category | # Parts | Status | Description |
|---|---|---|---|---|
| Evaluation Boards | 3 | Active | ||
| Evaluation Boards | 3 | Active | ||
MAX1119812-/14-/16-Bit, 2Msps, Dual Simultaneous Sampling SAR ADCs with Internal Reference | Evaluation Boards | 3 | Active | The MAX11192/MAX11195/MAX11198 is a dual-channel SAR ADCs with simultaneous sampling at 2Msps, 12-/14-/16-bit resolution, and differential inputs. Available in a tiny 16-pin, 3mm x 2mm ultra TDFN package, this ADC delivers excellent static and dynamic performance while operating from a supply voltage over the range of 3.0V to 5.25V. An integrated reference further reduces board area and component count.The MAX11192/MAX11195/MAX11198 output conversion data using an SPI-compatible serial interface with a dual DOUT bus. Specifications apply over the extended industrial temperature range of -40°C to +125°C.Design Solution: The Incredible Shrinking Encoder ›ApplicationsCurrent Sensing in MotorsEncodersLVDTPLCResolvers |
| Integrated Circuits (ICs) | 3 | Obsolete | ||
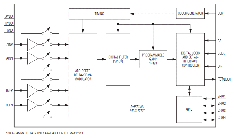
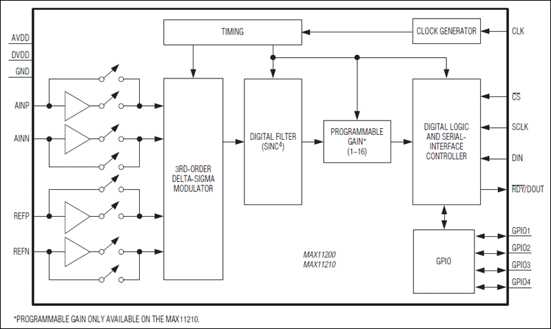
MAX1120024-Bit, Single-Channel, Ultra-Low Power, Delta-Sigma ADCs with GPIO | Integrated Circuits (ICs) | 3 | Active | The MAX11200/MAX11210 are ultra-low-power (< 300µA active current), high-resolution, serial output ADCs. These devices provide the highest resolution per unit power in the industry, and are optimized for applications that require very high dynamic range with low power, such as sensors on a 4mA to 20mA industrial control loop. Optional input buffers provide isolation of the signal inputs from the switched capacitor sampling network allowing these converters to be used with high-impedance sources without compromising available dynamic range or linearity. The devices provide a high-accuracy internal oscillator that requires no external components. When used with the specified data rates, the internal digital filter provides more than 100dB rejection of 50Hz or 60Hz line noise. The devices are configurable using the SPI interface and are available in a 16-pin QSOP package.ApplicationsBattery ApplicationsPortable InstrumentationSensor Measurement (Temperature and Pressure)Weigh Scales |
MAX1120124-Bit, Single-Channel, Ultra-Low-Power, Delta Sigma ADC with 2-Wire Serial Interface | Analog to Digital Converters (ADC) | 4 | Active | The MAX11201 is an ultra-low-power (< 320µA max active current), high-resolution, serial-output ADC. This device provides the highest resolution per unit power in the industry and is optimized for applications that require very high dynamic range with low power such as sensors on a 4mA to 20mA industrial control loop. The MAX11201 provides a high-accuracy internal oscillator that requires no external components.When used with the specified data rates, the internal digital filter provides more than 100dB rejection of 50Hz or 60Hz line noise. The MAX11201 provides a simple 2-wire serial interface in the space-saving, 10-pin µMAX® package.The MAX11201 operates over the -40°C to +85°C temperature range.ApplicationsBattery ApplicationsPortable InstrumentationSensor Measurement (Temperature and Pressure)Weigh Scales |
| Data Acquisition | 4 | Active | ||
MAX1120316-Bit, Single-Channel, Ultra-Low Power, Delta-Sigma ADC with Programmable Gain and GPIO | Analog to Digital Converters (ADC) | 2 | Active | The MAX11203/MAX11213 are ultra-low-power (< 300µA active current), high-resolution, serial-output ADCs. These devices provide the highest resolution per unit power in the industry, and are optimized for applications that require very high dynamic range with low power, such as sensors on a 4mA to 20mA industrial control loop. Optional input buffers provide isolation of the signal inputs from the switched capacitor sampling network allowing these converters to be used with high-impedance sources without compromising available dynamic range or linearity. The devices provide a high-accuracy internal oscillator that requires no external components. When used with the specified data rates, the internal digital filter provides more than 100dB rejection of 50Hz or 60Hz line noise. The devices are configurable using the SPI interface and are available in a 16-pin QSOP package.ApplicationsBattery ApplicationsPortable InstrumentationSensor Measurement (Temperature and Pressure)Weigh Scales |
| Development Boards, Kits, Programmers | 5 | Active | ||
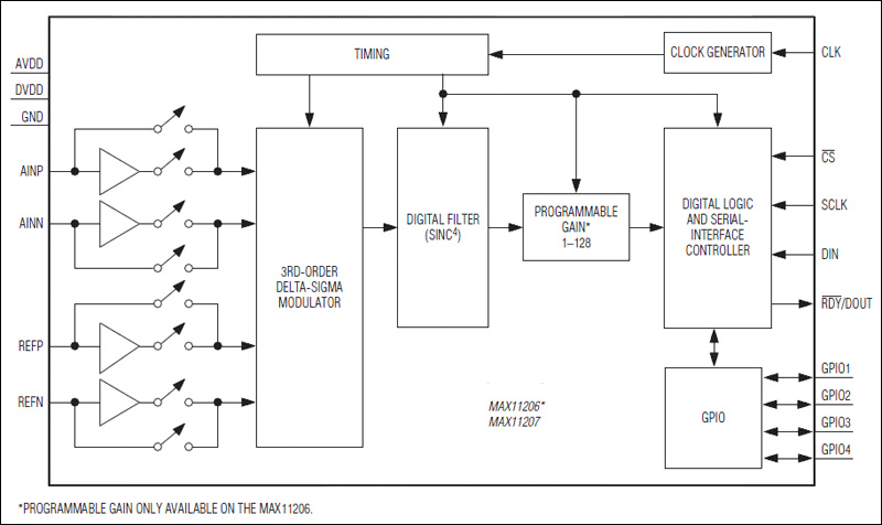
MAX1120620-Bit, Single-Channel, Ultra-Low-Power, Delta-Sigma ADCs with Programmable Gain and GPIO | Development Boards, Kits, Programmers | 3 | Active | The MAX11206/MAX11207 are ultra-low-power (< 300µA active current), high-resolution, serial-output ADCs. These devices provide the highest resolution per unit power in the industry, and are optimized for applications that require very high dynamic range with low power, such as sensors on a 4mA to 20mA industrial control loop. Optional input buffers provide isolation of the signal inputs from the switched capacitor sampling network allowing these converters to be used with high-impedance sources without compromising available dynamic range or linearity. The devices provide a high-accuracy internal oscillator that requires no external components. When used with the specified data rates, the internal digital filter provides more than 100dB rejection of 50Hz or 60Hz line noise. The devices are configurable using the SPI interface and include four GPIOs that can be used for external mux control. The MAX11206 includes digital programmable gain of 1 to 128.The MAX11206/MAX11207 operate over the -40°C to +85°C temperature range, and are available in a 16-pin QSOP package.ApplicationsBattery ApplicationsPortable InstrumentationSensor Measurement (Temperature and Pressure)Weigh Scales |