S
STMicroelectronics
| Series | Category | # Parts | Status | Description |
|---|---|---|---|---|
| Part | Spec A | Spec B | Spec C | Spec D | Description |
|---|---|---|---|---|---|
| Series | Category | # Parts | Status | Description |
|---|---|---|---|---|
| Part | Spec A | Spec B | Spec C | Spec D | Description |
|---|---|---|---|---|---|
| Part | Category | Description |
|---|---|---|
STMicroelectronics STEVAL-ISA068V1Obsolete | Development Boards Kits Programmers | EVAL BOARD FOR ST1S32 |
STMicroelectronics 74VCXHQ163245TTRObsolete | Integrated Circuits (ICs) | IC TRANSLATION TXRX 2.7V 48TSSOP |
STMicroelectronics | Development Boards Kits Programmers | VNQ9050LAJ EVALUATION BOARD |
STMicroelectronics LSM303DLHCTRObsolete | Sensors Transducers | IMU ACCEL/MAG 3-AXIS I2C 14LGA |
STMicroelectronics M93C56-WMN6TObsolete | Integrated Circuits (ICs) | EEPROM SERIAL-MICROWIRE 2K-BIT 256 X 8/128 X 16 3.3V/5V 8-PIN SO N T/R |
STMicroelectronics | Integrated Circuits (ICs) | STM32U |
STMicroelectronics TS831-3IZObsolete | Integrated Circuits (ICs) | IC SUPERVISOR 1 CHANNEL TO92-3 |
STMicroelectronics STMPE1208SQTRObsolete | Integrated Circuits (ICs) | IC I/O EXPANDER I2C 12B 40QFN |
STMicroelectronics STM32L1-MAGNETObsolete | Development Boards Kits Programmers | IAR EXPERIMENT STM32 L1 EVAL BRD |
STMicroelectronics VNB35N07Obsolete | Integrated Circuits (ICs) | IC PWR DRIVER N-CHAN 1:1 D2PAK |
| Series | Category | # Parts | Status | Description |
|---|---|---|---|---|
| Power Distribution Switches, Load Drivers | 1 | Active | ||
| Development Boards, Kits, Programmers | 1 | Active | ||
| Power Distribution Switches, Load Drivers | 2 | Active | ||
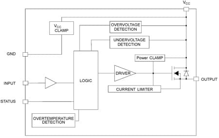
VN751SHigh side driver | Power Management (PMIC) | 2 | Active | The VN751S is a monolithic device developed using STMicroelectronics' VIPower technology, intended to drive any kind of load with one side connected to ground. Active VCCpin voltage clamp protects the device against low energy spikes. Active current limitation combined with thermal shutdown and automatic restart protect the device against overload. The device automatically turns off in case of ground pin disconnection. This device is especially suitable for industrial applications in conformity with IEC 61131-2 programmable controller international standard. |
| Power Distribution Switches, Load Drivers | 3 | Obsolete | ||
| Integrated Circuits (ICs) | 1 | Obsolete | ||
| Full, Half-Bridge Drivers | 4 | Obsolete | ||
| PMIC | 2 | Obsolete | ||
VN7E010AJHigh-side driver with MultiSense analog feedback for automotive applications | Power Management (PMIC) | 1 | Active | The device is a single channel high-side driver manufactured with proprietary ST VIPower®M0-7 technology, in a PowerSSO-16 package. The device is designed to drive 12 V automotive grounded loads through a 3 V and 5 V CMOS-compatible interface, providing protection and diagnostics.
The device integrates advanced protective functions such as load current limitation, overload active management by power limitation and overtemperature shutdown with configurable latch-off.
A FaultRST pin unlatches the output in case of fault or disables the latch-off functionality.
A current sense pin delivers high precision proportional load current sense in addition to the detection of overload and short circuit to ground, short to VCCand OFF-state open-load.
A sense enable pin allows OFF-state diagnosis to be disabled during the module low-power mode as well as external sense resistor sharing among similar devices. |
VN800High-side driver | Integrated Circuits (ICs) | 3 | Active | The VN800PS-E is monolithic device made by using STMicroelectronics™ VIPower™ M0-3 technology, intended for driving any kind of load with one side connected to ground.
Active VCCpin voltage clamp protects the device against low energy spikes. Active current limitation combined with thermal shutdown and automatic restart protect the device against overload. Device automatically turns off in case of ground pin disconnection.
This device is especially suitable for industrial applications in norms conformity with IEC1131 (Programmable Controllers International Standard). |