S
STMicroelectronics
| Series | Category | # Parts | Status | Description |
|---|---|---|---|---|
| Part | Spec A | Spec B | Spec C | Spec D | Description |
|---|---|---|---|---|---|
| Series | Category | # Parts | Status | Description |
|---|---|---|---|---|
| Part | Spec A | Spec B | Spec C | Spec D | Description |
|---|---|---|---|---|---|
| Part | Category | Description |
|---|---|---|
STMicroelectronics STEVAL-ISA068V1Obsolete | Development Boards Kits Programmers | EVAL BOARD FOR ST1S32 |
STMicroelectronics 74VCXHQ163245TTRObsolete | Integrated Circuits (ICs) | IC TRANSLATION TXRX 2.7V 48TSSOP |
STMicroelectronics | Development Boards Kits Programmers | VNQ9050LAJ EVALUATION BOARD |
STMicroelectronics LSM303DLHCTRObsolete | Sensors Transducers | IMU ACCEL/MAG 3-AXIS I2C 14LGA |
STMicroelectronics M93C56-WMN6TObsolete | Integrated Circuits (ICs) | EEPROM SERIAL-MICROWIRE 2K-BIT 256 X 8/128 X 16 3.3V/5V 8-PIN SO N T/R |
STMicroelectronics | Integrated Circuits (ICs) | STM32U |
STMicroelectronics TS831-3IZObsolete | Integrated Circuits (ICs) | IC SUPERVISOR 1 CHANNEL TO92-3 |
STMicroelectronics STMPE1208SQTRObsolete | Integrated Circuits (ICs) | IC I/O EXPANDER I2C 12B 40QFN |
STMicroelectronics STM32L1-MAGNETObsolete | Development Boards Kits Programmers | IAR EXPERIMENT STM32 L1 EVAL BRD |
STMicroelectronics VNB35N07Obsolete | Integrated Circuits (ICs) | IC PWR DRIVER N-CHAN 1:1 D2PAK |
| Series | Category | # Parts | Status | Description |
|---|---|---|---|---|
| Integrated Circuits (ICs) | 1 | Obsolete | ||
STLDC08Step-up controller for LED supply | LED Drivers | 1 | Active | The STLDC08 LED driver step-up controller is optimized to operate from one or two NiCd/NiMH or alkaline cells. The IC is able to drive an external MOSFET (N-channel) enabling it for use with wide power levels. Hysteretic control eliminates the need for small signal control loop compensation. The IC integrates an FET driver for a precise PWM dimming. STLDC08 comes in a DFN10 (3 x 3 mm) package. |
| LED Drivers | 1 | Obsolete | ||
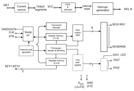
STLED316SSerial-interfaced 6-digit LED controller with keyscan | Interface | 1 | Active | The STLED316S is a compact LED controller and driver that interface microprocessors to LED displays through a serial 3-wire interface. It drives LED connected in common anode configuration.
The STLED316S drives up to 48 discrete LEDs in 8 segment/6 digit configuration while functioning from a supply voltage of 5.0V. Additionally it can be used to drive 8 discrete LEDs which form a part of LED digit. The individual LEDs are wired as segments of a digit and brightness of these individual LEDs can be controlled digitally. The maximum segment current for the display digits is set through a single external resistor. Individual digits may be addressed and updated without rewriting the entire display.
Additionally it includes key scanning for an 8x2 key matrix which automatically scans a matrix of up to 16 switches. STLED316S supports numerictype displays and reduces the overall BOM costs through high integration. Also it provides ESD protection of greater than 4 kV HBM.
The LED controller/driver is ideal as a peripheral device to interface the display with a singlechip microcomputer. |
STLED524Intelligent matrix LED display driver | Power Management (PMIC) | 1 | Active | The STLED524 is a 5x24 dot matrix LED display driver. It can drive each dot with a current up to 20 mA. Rows of the matrix are multiplexed. Each LED in a row is driven by a separate low-side current mirror. Current regulators are supplied by an integrated boost DC-DC converter. Its output voltage can be adjusted by the internal register to optimize efficiency according to the type of LEDs (their forward voltage). This reduces current mirror power dissipation and improves overall efficiency. The STLED524 also includes an internal LDO regulator, which can provide a supply voltage for an additional circuitry. Maximum current, provided by each current mirror, is adjusted by RSETresistor. Current of each LED (dot) can be dimmed in 255 steps due to settings of internal registers.
The STLED524 features PWM dimming in 255 steps. Automatic slope function is also supported. Cycle time and slope time can be adjusted for each LED (dot) separately.
Two patterns can be stored in internal registers. The automatic scrolling of the display content is possible in 4 ways. |
| Programmers, Emulators, and Debuggers | 2 | Active | ||
| Temperature Sensors | 2 | Active | ||
| Temperature Sensors | 2 | Active | ||
| PMIC | 13 | Active | ||
| PMIC | 12 | Active | ||