TW28044-in-1 NTSC/PAL Video Decoder for Security Applications | Integrated Circuits (ICs) | 1 | Obsolete | The TW2804 includes four high quality NTSC / PAL video decoders, which convert analog composite to digital component YCbCr for security applications. The TW2804X contains four 10-bit A/D, proprietary digital gain/clamp controllers, and utilizes proprietary techniques for separating luminance & chrominance to reduce both cross-luminance and cross-chrominance artifacts. The high performance dual scalers in each channel offer two differently scaled video outputs with 54MHz ITU-R BT. 656 format for security system design. Four built-in motion detectors can also increase the feature of a security system. |
| Integrated Circuits (ICs) | 1 | Obsolete | |
| Video Processing | 1 | Obsolete | |
TW28164 Channel Video Decoders for Security Applications | Linear | 1 | Obsolete | The TW2816 includes four high quality NTSC/PAL video decoders that convert analog composite video signals to digital component YCbCr data for security applications. The TW2816 contains four 10 bit ADCs and proprietary clamp and gain controllers and utilizes 4H comb filters for separating luminance & chrominance to reduce cross noise artifacts. The TW2816 adopts image enhancement techniques such as IF compensation filter, CTI and programmable peaking. |
TW2819Multichannel H.264 Audio/Video Codec | Integrated Circuits (ICs) | 1 | Obsolete | The TW2819 is a high performance and cost effective multi-channel H. 264 CODEC solution designed for the security surveillance market. It is capable of receiving and encoding maximum 16 channels standard definition (SD) or 960H (WD1) video. It can also support up to 8-channel high definition (HD) 720p or 4-channel 1080p encode. It supports D1/960H/720p/1080p decode also up to 4 channels. Each video channel can be independently controlled in terms of encode/decode mode, frame rate, bit rate. |
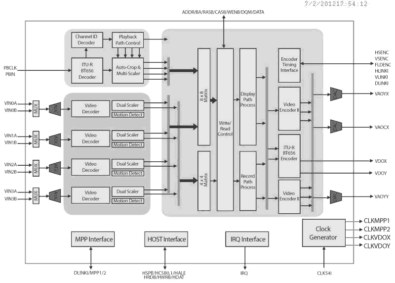
TW28244 Channel Video QUAD/MUX Controller | Integrated Circuits (ICs) | 2 | Obsolete | The TW2824 has four high quality NTSC/PAL video decoders, dual color display controllers and dual video encoders. The TW2824 contains four 10-bit analog-to-digital converters, proprietary digital gain/clamp controller, high quality Y/C separator to reduce cross-noise and high performance dual scaler to provide various pictures. Four built-in motion and blind detectors can increase the feature of the security system. The TW2824 has a flexible video display controller including QUAD and MUX basic functions. The TW2824 also has an excellent graphic overlay function which displays character/bitmap, box and mouse pointer. The TW2824 contains two video encoders with four 10-bit digital-to-analog converters for providing 2 composite or S-video outputs. |
TW282616 Channel Record Multiplexer for Security Applications | Linear | 1 | Obsolete | TW2826 is a record multiplexer that converts multiple D1 video inputs into quad CIF format for multi-channel DVR applications. The maximum number of D1 video that can be accepted is 16. The output can be selected from any D1 video or quad CIF video. This product accepts multiple channels BT. 656 compliant video data in byte interleaving format, processes them and outputs them in either its original size or in quad CIF size based on user control. The output will be in BT. 656 byte interleaving format in the case of multi-channel output. |
| Video Processing | 1 | Obsolete | |
TW28354 Channel Video and Audio Controller | Linear | 2 | Obsolete | The TW2835 has four high quality NTSC/PAL video decoders, dual color display controllers and dual video encoders. The TW2835 contains four built-in analog anti-aliasing filters, four 10bit Analog-to-Digital converters, and proprietary digital gain/clamp controller, high quality Y/C separator to reduce cross-noise and high performance free scaler. Four built-in motion, blind and night detectors can increase the feature of security system. The TW2835 has flexible video display/record/playback controller including basic display and MUX functions. The TW2835 also has excellent graphic overlay function that displays bitmap for OSD, single box, 2D array box, and mouse pointer. The built-in channel ID CODEC allows auto decoding and displaying during playback and the additional scaler on the playback supports multi-cropping function of the same field or frame image. The TW2835 contains two video encoders with three 10bit Digital-to-Analog converters to provide 2 composite or S-video. The TW2835 also includes audio CODEC that has four audio Analog-to-Digital converters and one Digital-to- Analog converter. A built-in audio controller can generate digital outputs for recording/mixing and accepts digital input for playback. The TW2835 can be extended up to 8/16 channel video controller using chip-to-chip cascade connection. |
TW28364 Channel Video QUAD/MUX Controller | Video Processing | 2 | Obsolete | The TW2836 has four high quality NTSC/PAL video decoders, dual color display controllers and dual video encoders. The TW2836 contains four built-in analog anti-aliasing filters, four 10bit Analog-to-Digital converters, and proprietary digital gain/clamp controller, high quality Y/C separator to reduce cross-noise and high performance free scaler. Four built-in motion, blind and night detectors can increase the feature of security system. The TW2836 has flexible video display/record/playback controller including basic display and MUX functions. The TW2836 also has excellent graphic overlay function that displays bitmap for OSD, single box, 2D array box, and mouse pointer. The built-in channel ID CODEC allows auto decoding and displaying during playback and the additional scaler on the playback supports multi-cropping function of the same field or frame image. The TW2836 contains two video encoders with three 10bit Digital-to-Analog converters to provide 2 composite or S-video. The TW2836 can be extended up to 8/16 channel video controller using chip-to-chip cascade connection. |