ISL23428Dual, 128-Tap, Low Voltage Digitally Controlled Potentiometer (XDCP™) | Data Acquisition | 3 | Active | The ISL23428 is a volatile, low voltage, low noise, low power, 128-tap, dual digitally controlled potentiometer (DCP) with an SPI Bus™ interface. It integrates two DCP cores, wiper switches and control logic on a monolithic CMOS integrated circuit. Each digitally controlled potentiometer is implemented with a combination of resistor elements and CMOS switches. The position of the wipers are controlled by the user through the SPI bus interface. Each potentiometer has an associated volatile Wiper Register (WRi, i = 0, 1) that can be directly written to and read by the user. The contents of the WRi controls the position of the wiper. When powered on, the wiper of each DCP will always commence at mid-scale (64 tap position). The low voltage, low power consumption, and small package of the ISL23428 make it an ideal choice for use in battery operated equipment. In addition, the ISL23428 has a VLOGICpin allowing down to 1. 2V bus operation, independent from the VCCvalue. This allows for low logic levels to be connected directly to the ISL23428 without passing through a voltage level shifter. The DCP can be used as a three-terminal potentiometer or as a two-terminal variable resistor in a wide variety of applications including control, parameter adjustments, and signal processing. |
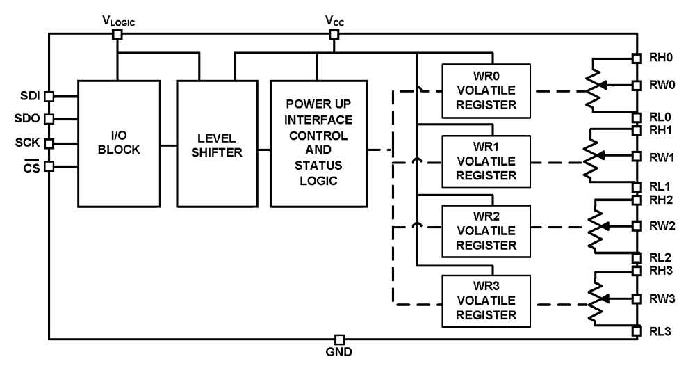
ISL23445Quad, 256 Tap, Low Voltage Digitally Controlled Potentiometer (XDCP™) | Data Acquisition | 2 | Obsolete | The ISL23445 is a volatile, low voltage, low noise, low power, 256 tap, quad digitally controlled potentiometer (DCP) with an SPI Bus™ interface. It integrates four DCP cores, wiper switches and control logic on a monolithic CMOS integrated circuit. Each digitally controlled potentiometer is implemented with a combination of resistor elements and CMOS switches. The position of the wipers are controlled by the user through the SPI bus interface. Each potentiometer has an associated volatile Wiper Register (WRi, i = 0, 1, 2, 3) that can be directly written to and read by the user. The contents of the WRi controls the position of the wiper. When powered on, the wiper of each DCP will always commence at mid-scale (128 tap position). The low voltage, low power consumption, and small package of the ISL23445 make it an ideal choice for use in battery operated equipment. In addition, the ISL23445 has a VLOGICpin allowing down to 1. 2V bus operation, independent from the VCCvalue. This allows for low logic levels to be connected directly to the ISL23445 without passing through a voltage level shifter. The DCP can be used as a three-terminal potentiometer or as a two-terminal variable resistor in a wide variety of applications including control, parameter adjustments, and signal processing. |
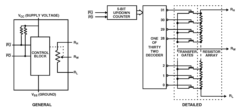
ISL23511Low Noise, Low Power, 32 Taps, Push Button Controlled Potentiometer | Integrated Circuits (ICs) | 1 | Active | The Intersil ISL23511 is a three-terminal digitally-controlled potentiometer (XDCP) implemented by a resistor array composed of 31 resistive elements and a wiper switching network. The ISL23511 features a push button control, a shutdown mode, as well as an industry-leading µTQFN package. The push button control has individual PU and PD inputs for adjusting the wiper. To eliminate redundancy the wiper position will automatically increment or decrement if one of these inputs is held longer than one second. Forcing both PU and PD low for more than two seconds activates shutdown mode. Shutdown mode disconnects the top of the resistor chain and moves the wiper to the lowest position, minimizing power consumption. The three terminals accessing the resistor chain naturally configure the ISL23511 as a voltage divider. A rheostat is easily formed by floating an end terminal or connecting it to the wiper. |
| Data Acquisition | 1 | Obsolete | |
ISL240211A Rail-to-Rail Input-Output Operational Amplifier | Integrated Circuits (ICs) | 1 | Active | The ISL24021 is a high output current, high voltage, rail-to-rail voltage feedback amplifier. The ISL24021 is capable of ±1A peak output short circuit current. The amplifier exhibits beyond the rail input capability, rail-to-rail output capability and is unity gain stable. The operating supply voltage range is from 4. 5V to 19V maximum and the ISL24021 can be configured for single or dual supply operation. The ISL24021 has the ability to quickly source and sink large peak currents up to ±1A and to drive large continuous currents of ±300mA. The ISL24021 features fast slewing and settling times. Also, the device provides common mode input capability beyond the supply rails, and rail-to-rail output capability. This enables the amplifier to offer maximum dynamic range at any supply voltage. These features make the ISL24021 an ideal solution as a VCOM driver in TFT-LCD panel applications. Other applications may include battery power and portable devices, and especially where low power consumption is important. The ISL24021 is available in a 8 Ld 3mmx3mm TDFN package featuring a standard operational amplifier pinout with a lead pitch of 0. 65mm. The device utilizes a thermally enhanced package and has a built-in thermal protection circuit. It is specified for operation over an ambient temperature range of -40°C to +85°C. |
| PMIC | 1 | Obsolete | |
| Power Management - Specialized | 2 | Obsolete | |
ISL24202Programmable VCOM Calibrator with EEPROM | Integrated Circuits (ICs) | 1 | Obsolete | The ISL24202 is an 8-bit programmable current sink that can be used in conjunction with an external voltage divider to generate a voltage source (VCOM) positioned between the analog supply voltage and ground. The current sinks full-scale range is controlled by an external resistor, RSET. With the appropriate choice of external resistors R1and R2, the VCOMvoltage range can be controlled between any arbitrary voltage range. The ISL24202 has an 8-bit data register and 8-bit EEPROM for storing both a volatile and a permanent value for its output, accessible through a single up/down counter interface pin (CTL). After the part is programmed with the desired VCOMvalue, the Counter Enable pin (CE) can be grounded to prevent further changes. On every power-up the EEPROM contents are automatically transferred to the data register, and the pre-programmed output voltage appears at the VOUTpin. The ISL24202 can be used with a high output drive buffer amplifier, which allows it to directly drive the VCOMinput of an LCD panel. The ISL24202 is available in an 8 Ld 3mm x 3mm TDFN package. This package has a maximum height of 0. 8mm for very low profile designs. The ambient operating temperature range is -40°C to +85°C. |
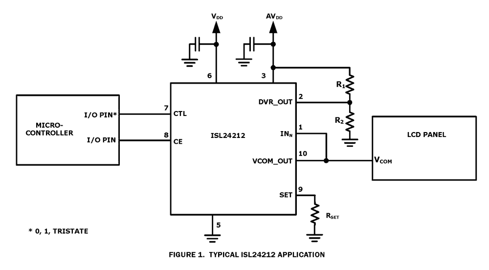
ISL24212Programmable VCOM Calibrator with EEPROM and Output Buffer | Integrated Circuits (ICs) | 1 | Obsolete | The ISL24212 is an 8-bit programmable current sink that can be used in conjunction with an external voltage divider to generate a voltage source (VCOM) positioned between the analog supply voltage and ground. The current sinks full-scale range is controlled by an external resistor, RSET. With the appropriate choice of external resistors R1and R2, the VCOMvoltage range can be controlled between any arbitrary voltage range. The ISL24212 has an 8-bit data register and 8-bit EEPROM for storing both a volatile and a permanent value for its output, accessible through a single up/down counter interface pin (CTL). After the part is programmed with the desired VCOMvalue, the Counter Enable pin (CE) can be grounded to prevent further changes. On every power-up, the EEPROM contents are automatically transferred to the data register and the pre-programmed output voltage appears at the VCOM_OUT pin. The ISL24212 also features an integrated, wide-bandwidth, high output drive buffer amplifier that can directly drive the VCOMinput of an LCD panel. The ISL24212 is available in an 10 Ld 3mm x 3mm TDFN package. This package has a maximum height of 0. 8mm for very low profile designs. The ambient operating temperature range is -40°C to +85°C. |
ISL2485815-Channel I2C Programmable TFT-LCD Reference Voltage Generator with Integrated EEPROM, and Ultra-low Power Operation | Integrated Circuits (ICs) | 1 | Active | The ISL24858 is a programmable reference voltage generator for TFT-LCDs featuring ultra-low power operation. The ISL24858 contains an I2C programmable, 10-bit, 14-channel gamma reference voltage generator with buffered outputs, a 10-bit programmable VCOMcalibrator, a high output current VCOMamplifier, and internal EEPROM to store all reference voltage data. The EEPROM features an endurance of 10, 000 write cycles. Combining gamma and VCOM reference voltage generators with low power operation and EEPROM, the ISL24858 provides a complete reference voltage solution ideal for tablet, monitor, and mobile TFT-LCD applications. The ISL24858 is available in a super thin 28 Ld 4x5mm X2QFN thermally enhanced package. It is specified for operation over the -40°C to +105°C ambient temperature range. |