ADF4372Microwave Wideband Synthesizer with Integrated VCO | Evaluation Boards | 3 | Active | The ADF4372 allows implementation of fractional-N or integer-N phase-locked loop (PLL) frequency synthesizers when used with an external loop filter and an external reference frequency. The wideband microwave voltage controlled oscillator (VCO) design allows frequencies from 62.5 MHz to 16 GHz to be generated.The ADF4372 has an integrated VCO with a fundamental output frequency ranging from 4000 MHz to 8000 MHz. In addition, the VCO frequency is connected to a divide by 1, 2, 4, 8, 16, 32, or 64 circuit that allows the user to generate radio frequency (RF) output frequencies as low as 62.5 MHz at RF8x. A frequency multiplier at RF16x generates from 8 GHz to 16 GHz. RFAUX8x duplicates the frequency range of RF8x or permits direct access to the VCO output. To suppress the unwanted products of frequency multiplication, a harmonic filter exists between the multiplier and the output stage of RF16x.Control of all on-chip registers is through a 3-wire interface. The ADF4372 operates with analog and digital power supplies ranging from 3.15 V to 3.45 V, and 5 V for the VCO power supply. The ADF4372 also contains hardware and software power-down modes.APPLICATIONSWireless infrastructure (multicarrier global system for mobile communication (MC-GSM), 5 G)Test equipment and instrumentationClock generationAerospace and defense |
ADF4377Microwave Wideband Synthesizer with Integrated VCO | Evaluation Boards | 2 | Active | integer-N phased locked loop (PLL) with an integrated voltage controlled oscillator (VCO) ideally suited for data converter and mixed signal front end (MxFE) clock applications. The high performance PLL has a figure of merit of −239 dBc/Hz, ultralow 1/f noise, and a high phase frequency detector (PFD) frequency that can achieve ultralow in-band noise and integrated jitter. The fundamental VCO and output divider of the ADF4377 generate frequencies from 800 MHz to 12.8 GHz. The ADF4377 integrates all necessary power supply bypass capacitors, saving board space on compact boards.For multiple data converter and MxFE clock applications, the ADF4377 simplifies clock alignment and calibration routines required with other clock solutions by implementing the automatic reference to output synchronization feature, the matched reference to output delays across process, voltage, and temperature feature, and the less than ±0.1 ps, jitter free reference to output delay adjustment capability feature.These features allow for predictable and precise multichip clock and system reference (SYSREF) alignment. JESD204B and JESD204C Subclass 1 solutions are supported by pairing the ADF4377 with an integrated circuit (IC) that distributes pairs of reference and SYSREF signals.APPLICATIONSHigh performance data converter and MxFE clockingWireless infrastructure (MC-GSM, 5G)Test and measurement |
ADF4378Microwave Wideband Synthesizer with Integrated VCO and Deterministic General-Purpose Pulse Retimer | Development Boards, Kits, Programmers | 1 | Active | The ADF4378 is a high performance, ultra-low jitter, integer-N phased locked loop (PLL) with an integrated voltage controlled oscillator (VCO) and system reference (SYSREF) retimer ideally suited for data converter and mixed signal front end (MxFE) clock applications. The high performance PLL has a −239 dBc/Hz: normalized in-band phase noise floor, ultra-low 1/f noise, and a high phase/frequency detector (PFD) frequency that can achieve ultralow in-band noise and integrated jitter. The fundamental VCO and output divider of the ADF4378 generate frequencies from 800 MHz to 12.8 GHz. The ADF4378 integrates all necessary power-supply bypass capacitors, which saves board space on compact boards.For multiple data converter and MxFE clock applications, the ADF4378 simplifies clock alignment and calibration routines required with other clock solutions by implementing the automatic reference to output synchronization feature, the matched reference to output delays across process, voltage, and temperature feature, and the less than ±0.1 ps, jitter free reference to output delay adjustment capability feature.The general-purpose pulse retimer feature allows for predictable and precise multichip clock and pulse alignment for SYSREF, SYNC, and multichip synchronization (MCS) architectures. JESD204B and JESD204C Subclass 1 solutions are supported by pairing the ADF4378 with an integrated circuit (IC) that distributes pairs of reference and SYSREF signals. The pulse retimer feature simplifies the system design by allowing the widely distributed SYSREF to only meet the slower reference frequency timing vs. the much more stringent output clock timing. Serial-peripheral interface (SPI) selectable current-mode logic (CML)/low-voltage positive/pseudo emitter-coupled logic (LVPECL) or low-voltage differential signaling (LVDS) SYSREF input and LVDS SYSREF output allow CML to LVDS signal conversion, which simplifies clock and SYSREF alignment for various converters. The pulse retimer feature also can be used with transceiver MCS signals and SYNC signals for other ICs.ApplicationsHigh Performance Data Converter and MxFE ClockingWireless infrastructure (MC-GSM, 5G)Test and MeasurementFPGA with integrated data converters |
| Evaluation Boards | 1 | Active | |
ADF4401ATranslation Loop, PLL, VCO Module | RF and Wireless | 1 | Active | The ADF4401A is a fully integrated, system in package (SiP) translation loop (also known as an offset loop) module that includes a voltage controlled oscillator (VCO) and calibration phase-locked loop (PLL) circuit. Designed for highly jitter sensitive applications, this solution reduces board space and complexity compared to traditional discrete translation loop solutions designed on a printed circuit board (PCB). The time to market is significantly reduced by taking advantage of this highly integrated solution with in package circuitry and enhanced isolation that attenuates spurious components. The ADF4401A provides a frequency synthesis solution for engineers designing highly competitive systems.The ADF4401A requires an external phase detector or phase frequency detector (PFD) and an external local oscillator (LO) to form a frequency synthesis solution.The ADF4401A implements an integrated downconversion mixing stage in the feedback loop that sets the loop gain to 1 and minimizes the in band phase noise. By combining the frequency downconversion stage and low noise, integrated, wideband, VCO technology from Analog Devices, Inc., the ADF4401A offers a wideband jitter performance of 9 fs rms at 8 GHz output. The output jitter performance is largely dependent on the performance of the external offset LO.The ADF4401A module uses an internal PFD and VCO calibration circuitry to select the appropriate VCO band. The user can disable the calibration circuitry and close the loop using the external PFD. All on-chip registers are controlled via a serial port interface (SPI).APPLICATIONSInstrumentation and measurementAutomated test equipmentAerospace and defense |
ADF50024 GHzTO 18 GHzDivide-by-8 Prescaler | RF Evaluation and Development Kits, Boards | 2 | Active | The ADF5002 prescaler is a low noise, low power, fixed RF divider block that can be used to divide down frequencies as high as 18 GHz to a lower frequency suitable for input to a PLL IC, such as the ADF4156 or the ADF4106. The ADF5002 provides a divide-by-8 function. The ADF5002 operates from a 3.3 V supply and has differential 100 Ω RF outputs to allow direct interface to the differential RF inputs of PLLs such as the ADF4156 and ADF4106.ApplicationsPLL frequency range extenderPoint-to-point radiosVSAT radiosCommunications test equipment |
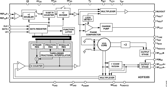
ADF5355Microwave Wideband Synthesizer with Integrated VCO | Evaluation Boards | 2 | Active | The ADF5355 allows implementation of fractional-N or integer-N phase-locked loop (PLL) frequency synthesizers when used with an external loop filter and an external reference frequency. The wideband microwave VCO design permits frequency operation from 6.8 GHz to 13.6 GHz at one radio frequency (RF) output. A series of frequency dividers at another frequency output permits operation from 54 MHz to 6800 MHz.The ADF5355 has an integrated VCO with a fundamental output frequency ranging from 3400 MHz to 6800 MHz. In addition, the VCO frequency is connected to divide by 1, 2, 4, 8, 16, 32, or 64 circuits that allow the user to generate RF output frequencies as low as 54 MHz. For applications that require isolation, the RF output stage can be muted. The mute function is both pin and software controllable.Control of all on-chip registers is through a simple 3-wire interface. The ADF5355 operates with analog and digital power supplies ranging from 3.15 V to 3.45 V, with charge pump and VCO supplies from 4.75 V to 5.25 V. The ADF5355 also contains hardware and software power-down modes.ApplicationsWireless infrastructure (W-CDMA, TD-SCDMA, WiMAX, GSM, PCS, DCS, DECT)Point to point/point to multipoint microwave linksSatellites/VSATsTest equipment/instrumentationClock generation |
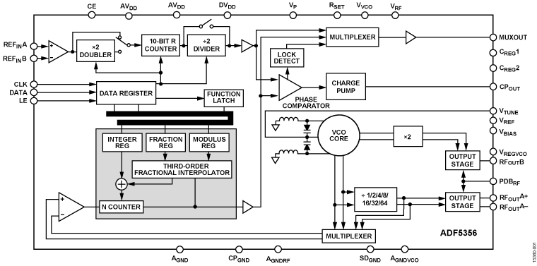
ADF5356Microwave Wideband Synthesizer with Integrated VCO | Evaluation and Demonstration Boards and Kits | 2 | Active | The ADF5356 allows implementation of fractional-N or integer N phase-locked loop (PLL) frequency synthesizers when used with an external loop filter and an external reference frequency. The wideband microwave VCO design permits frequency operation from 6.8 GHz to 13.6 GHz at one radio frequency (RF) output. A series of frequency dividers at another frequency output permits operation from 53.125 MHz to 6800 MHz.The ADF5356 has an integrated VCO with a fundamental output frequency ranging from 3400 MHz to 6800 MHz. In addition, the VCO frequency is connected to divide by 1, 2, 4, 8, 16, 32, or 64 circuits that allow the user to generate RF output frequencies as low as 53.125 MHz. For applications that require isolation, the RF output stage can be muted. The mute function is both pin- and software-controllable.Control of all on-chip registers is through a simple 3-wire interface. The ADF5356 operates with analog and digital power supplies ranging from 3.15 V to 3.45 V, with charge pump and VCO supplies from 4.75 V to 5.25 V. The ADF5356 also contains hardware and software power-down modes.ApplicationsWireless infrastructure (LTE, W-CDMA, TD-SCDMA, WiMAX, GSM, PCS, DCS)Point to point and point to multipoint microwave linksSatellites and very small aperture terminals (VSATs)Test equipment and instrumentationClock generation |
| Evaluation Boards | 2 | Obsolete | |
ADF57099.85 GHz to 20.5 GHz, Wideband, MMIC VCO | RF and Wireless | 2 | Active | The ADF5709 wideband, monolithic microwave integrated circuit (MMIC), voltage controlled oscillator (VCO) supports an output frequency (fOUT) range of 9.85 GHz to 20.5 GHz while maintaining −83 dBc/Hz phase noise at 100 kHz offset without subharmonic tones. The wide frequency tuning range and low phase noise allow phase-locked loop (PLL) solutions for a variety of frequency bands and limit the need for multiple narrow-band VCOs. The broad frequency coverage reduces the board design complexity and simplifies the bill of materials when designing RF and microwave applications.The VCO operates from a single 5 V supply and consumes only 70 mA of supply current that results in minimal power dissipation. The ADF5709 low power consumption is ideal for high performance applications with limited or no airflow. The monolithic construction of the VCO allows optimal output power and noise characteristics over temperature variations.The VCO is fully integrated and incorporates a resonator, a negative resistance device, and a varactor diode that minimize the number of external components and reduces board space.The low input impedance on the VTUNEpin of the ADF5709 enables high tuning speed and modulation bandwidth, which allows faster frequency sweeps and lock times when used as part of a frequency synthesizer, for example, in radar or in test and measurement applications.The ADF5709 is encapsulated into a tiny, 3.90 mm × 3.90 mm, RoHS compliant, ceramic leadless chip carrier (LCC) package. The package includes through vias to the exposed pad, enhancing thermal characteristics.The small size, optimal noise performance, low power consumption, and wide tuning range of the ADF5709 make the device ideal for many applications requiring flexibility, high performance, a small footprint, and a tight power budget. The ADF5709 is pin to pin compatible with the HMC733 and other Analog Devices, Inc., wideband VCOs.APPLICATIONSIndustrial and medical equipmentTest and measurement equipmentMilitary radars, electronic warfare (EW), and electronic countermeasures (ECMs)Point to point and multipoint radiosVery small aperture terminals (VSATs)Wireless communication infrastructure |