| Series | Category | # Parts | Status | Description |
|---|---|---|---|---|
| Integrated Circuits (ICs) | 3 | Obsolete | ||
MX7572Complete High-Speed CMOS, 12-Bit ADC | Analog to Digital Converters (ADC) | 1 | Active | The MAX162 and MX7572 are complete 12-Bit analog-to-digital converters (ADC's) that combine high speed, low power consumption, and an on-chip voltage reference. The conversion times are 3μs (MAX162) and 5 and 12μs (MX7572). The buried zener reference provides low drift and low noise performance.External component requirements are limited to only decoupling capacitors for the power supply and reference voltages. On-chip clock circuitry is also included which can either be driven from an external source, or in stand-alone applications, can be used with a crystal.The MAX162/MX7572 uses a standard microprocessor interface architecture. Three-state data outputs are controlled by Read (RD) and Chip Select (CS) inputs. Data access and bus release times of 90 and 75ns respectively ensure compatibility with most popular microprocessors without resorting to wait states.ApplicationsDigital Signal Processing (DSP)Electro-Mechanical SystemsHigh Accuracy Process ControlHigh Speed Data Acquisition |
MX7574CMOS, µP Compatible, 4µs, 8-Bit ADC | Analog to Digital Converters (ADC) | 5 | Active | The MAX160 and MX7574 are low cost, microprocessor compatible 8 bit analog-to-digital converters which use the successive-approximation technique to achieve conversion times of 4μs (MAX160) and 15μs (MX7574).The A/Ds are designed to easily interface with microprocessors by appearing as a memory location or I/O port without the need for external interfacing logic. Data outputs use latched, three-state buffer circuitry to allow direct connection to a microprocessor data bus or system input port. Operation is simplified by an on-chip clock, +5V power supply requirement, and low supply current (5mA max).The MAX160 provides major performance improvements over the AD7574 in accuracy and speed specifications as well as compatibility with TTL logic levels.ApplicationsAvionicsDigital Signal ProcessingHigh Speed Data AcquisitionInstrumentationProcess AutomationTelecommunications |
MX7575CMOS, µP Compatible, 5µs/10µs, 8-Bit ADCs | Integrated Circuits (ICs) | 9 | Active | Maxim's MX7575/MX7576 are high-speed (5µs/10µs), microprocessor (µP) compatible, 8-bit analog-to-digital converters (ADCs). The MX7575 provides an on-chip track/hold function that allows full-scale signals up to 50kHz (386mV/µs slew rate) to be acquired and digitized accurately. Both ADCs use a successive-approximation technique to achieve their fast conversions and low power dissipation. The MX7575/MX7576 operate with a +5V supply and a 1.23V external reference. They accept input voltages ranging from 0V to 2VREF.The MX7575/MX7576 are easily interfaced to all popular 8-bit µPs through standard CS and RD control signals. These signals control conversion start and data access. A BUSY signal indicates the beginning and end of a conversion. Since all the data outputs are latched and three-state buffered, the MX7575/MX7576 can be directly tied to a µP data bus or system l/O port.Maxim also makes the MAX165, a plug-in replacement for the MX7575 with an internal 1.23V reference. For applications that require a differential analog input and an internal reference, the MAX166 is recommended.ApplicationsAudio SystemsDigital Signal Processing (DSP)High-Speed Data AcquisitionHigh-Speed Servo LoopsLow-Power Data LoggersTelecommunications |
MX7576CMOS, µP Compatible, 5µs/10µs, 8-Bit ADCs | Data Acquisition | 5 | Active | Maxim's MX7575/MX7576 are high-speed (5µs/10µs), microprocessor (µP) compatible, 8-bit analog-to-digital converters (ADCs). The MX7575 provides an on-chip track/hold function that allows full-scale signals up to 50kHz (386mV/µs slew rate) to be acquired and digitized accurately. Both ADCs use a successive-approximation technique to achieve their fast conversions and low power dissipation. The MX7575/MX7576 operate with a +5V supply and a 1.23V external reference. They accept input voltages ranging from 0V to 2VREF.The MX7575/MX7576 are easily interfaced to all popular 8-bit µPs through standard CS and RD control signals. These signals control conversion start and data access. A BUSY signal indicates the beginning and end of a conversion. Since all the data outputs are latched and three-state buffered, the MX7575/MX7576 can be directly tied to a µP data bus or system l/O port.Maxim also makes the MAX165, a plug-in replacement for the MX7575 with an internal 1.23V reference. For applications that require a differential analog input and an internal reference, the MAX166 is recommended.ApplicationsAudio SystemsDigital Signal Processing (DSP)High-Speed Data AcquisitionHigh-Speed Servo LoopsLow-Power Data LoggersTelecommunications |
| Integrated Circuits (ICs) | 1 | Active | ||
| ADCs/DACs - Special Purpose | 2 | Obsolete | ||
MX7581CMOS, 20µs, 8-Bit, 8-Channel Data Acquisition System | ADCs/DACs - Special Purpose | 2 | Obsolete | The MAX161 and MX7581 are CMOS single-chip 8-bit, 8-channel data acquisition systems (DAS). Each chip includes an 8-bit A/D converter, 8-channel multiplexer, 8 x 8 dual port RAM with contention logic, and microprocessor compatible I/O logic. When combined with a voltage reference, a complete data acquisition system is produced that interfaces with the majority of microprocessors.Conversions take place on a continuous, channel sequencing basis using a microprocessor clock or control signal. Data is stored automatically in dual port RAM so that any channel can be read at any time under microprocessor control.The MAX161 is an enhanced, pin-compatible version of the MX7581. Improvements include faster conversion and interface timing, lower zero error and drift, reduced power dissipation, and availability in military temperature grades. All devices are available in 28 pin DIP and Small Outiline (SO) packages.ApplicationsAutomatic Test EquipmentData LoggersDigital Signal ProcessingProcess ControlRobotics |
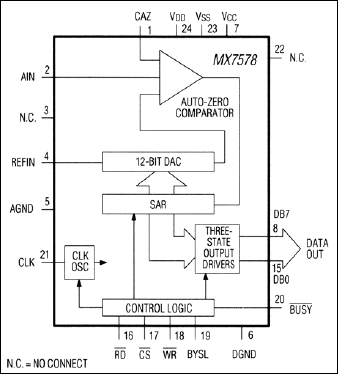
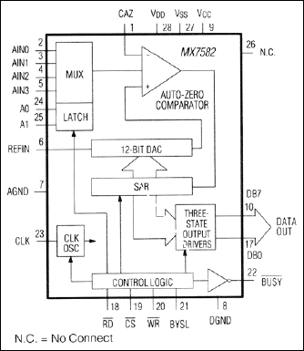
MX7582Calibrated 4-Channel 12-Bit ADC | Data Acquisition | 1 | Active | Calibrated 4-Channel 12-Bit ADC |
| Digital to Analog Converters (DAC) | 4 | Obsolete | ||
| Part | Category | Description |
|---|---|---|
Analog Devices Inc./Maxim Integrated LTC1879EGN#TRUnknown | Integrated Circuits (ICs) | IC REG BUCK ADJ 1.2A 16SSOP |
Analog Devices Inc./Maxim Integrated LTC2208CUP#TRUnknown | Integrated Circuits (ICs) | IC ADC 16BIT 130MSPS 64-QFN |
Analog Devices Inc./Maxim Integrated ADP2108ACBZ-1.1-R7Obsolete | Integrated Circuits (ICs) | IC REG BUCK 1.1V 600MA 5WLCSP |
Analog Devices Inc./Maxim Integrated EV1HMC832ALP6GObsolete | Development Boards Kits Programmers | EVAL BOARD FOR HMC832ALP6GE |
Analog Devices Inc./Maxim Integrated LTC488ISWUnknown | Integrated Circuits (ICs) | IC LINE RCVR RS485 QUAD 16-SOIC |
Analog Devices Inc./Maxim Integrated LTC6946IUFD-2Obsolete | Integrated Circuits (ICs) | IC CLK/FREQ SYNTH 28QFN |
Analog Devices Inc./Maxim Integrated MAX5556ESA+TObsolete | Integrated Circuits (ICs) | IC DAC/AUDIO 16BIT 50K 8SOIC |
Analog Devices Inc./Maxim Integrated EVAL-FLTR-LD-1RZUnknown | Unclassified | EVAL BRD FOR AD800 SERIES |
Analog Devices Inc./Maxim Integrated | Development Boards Kits Programmers | BOARD EVAL FOR AD9963 |
Analog Devices Inc./Maxim Integrated LTC1296CCSW#TRUnknown | Integrated Circuits (ICs) | IC DATA ACQ SYS 12BIT 5V 20SOIC |